| Обозначение: |  ГОСТ 26611-85 |
| Статус: | действующий |
| Название рус.: | Резцы токарные проходные, подрезные и копировальные с креплением сменных пластин прихватом сверху. Конструкция и размеры |
| Название англ.: | Straigh luming undercutting and coping tool holders with clamped changeable inserts pressed from the top. Desing and dimensions |
| Дата актуализации текста: | 06.04.2015 |
| Дата актуализации описания: | 01.07.2023 |
| Дата издания: | 01.12.2003 |
| Дата введения: | 01.07.1986 |
| Код ОКП: | 392100 |
| Нормативные ссылки: | ГОСТ 26476-85; ГОСТ 29132-91; ГОСТ 26476-85; ГОСТ 19073-80; ГОСТ 19043-80; ГОСТ 19084-80; ГОСТ 17475-80; ГОСТ 19074-80; ГОСТ 19045-80; ГОСТ 25003-81; ГОСТ 19049-80; ГОСТ 19077-80; ГОСТ 19050-80; ГОСТ 19085-80; ГОСТ 19076-80; ГОСТ 19047-80; ГОСТ 19078-80; ГОСТ 19056-80; ГОСТ 19083-80 |
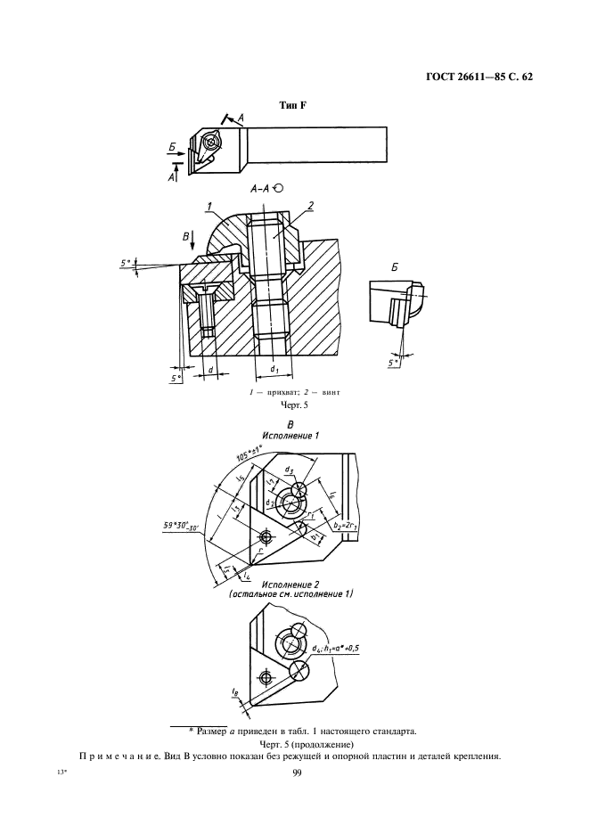
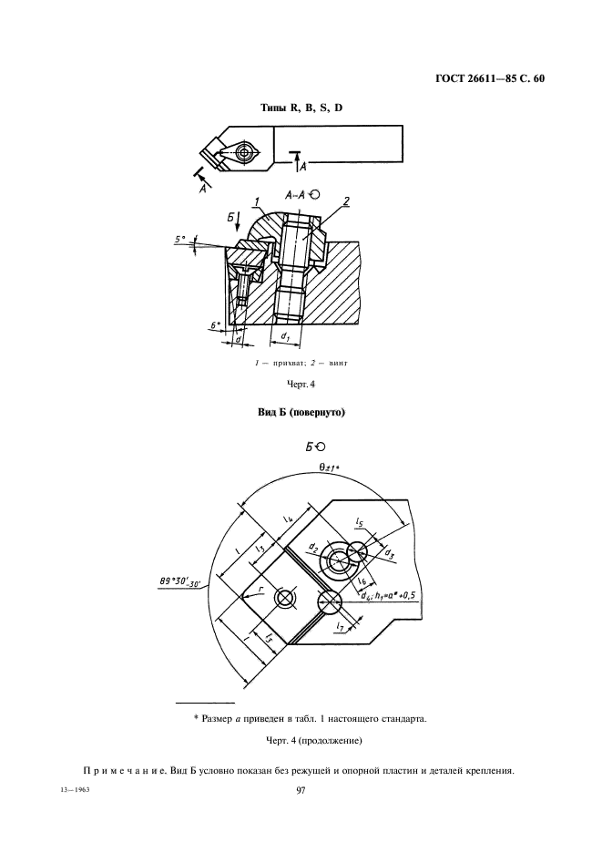
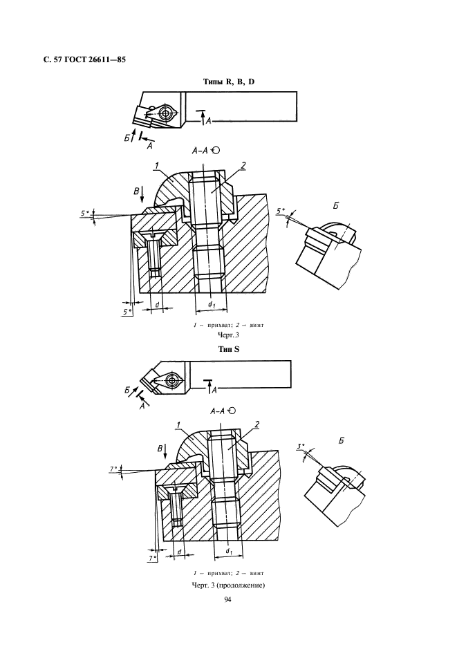
| Область применения: | Настоящий стандарт распространяется на токарные резцы с механическим креплением сменных многогранных пластин, предназначенные для обработки наружных поверхностей и изготовляемые для нужд народного хозяйства и экспорта |
| Список изменений: | №1 от 01.07.1987 (рег. 17.12.1986) «Срок действия продлен» №2 от 01.08.1992 (рег. 28.02.1992) «Поправка» |
|