| Обозначение: |  ГОСТ 26651-85 |
| Статус: | действующий |
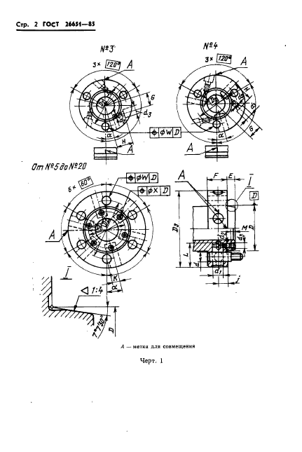
| Название рус.: | Станки металлорежущие. Концы шпинделей фланцевые типа Кэмлокк и зажимные устройства. Основные и присоединительные размеры |
| Название англ.: | Metal-cutting mashine tools. Flanged spindle noses camlock type and fixtures basis and coupling dimensions |
| Дата актуализации текста: | 06.04.2015 |
| Дата актуализации описания: | 01.01.2021 |
| Дата издания: | 31.01.1986 |
| Дата введения: | 01.01.1988 |
| Код ОКП: | 387300 |
| Содержит требования: | СТ СЭВ 4853-84 |
| Нормативные ссылки: | ГОСТ 11738-84 |
| Область применения: | Настоящий стандарт распространяется на фланцевые концы шпинделей с коротким конусом типа Кэмлокк для токарных станков и зажимные устройства, устанавливаемые на концы шпинделей |
|