| Обозначение: |  ГОСТ 26772-85 |
| Статус: | действующий |
| Название рус.: | Машины электрические вращающиеся. Обозначение выводов и направление вращения |
| Название англ.: | Rotating electrical machines. Terminal markings and direction of rotation |
| Дата актуализации текста: | 06.04.2015 |
| Дата актуализации описания: | 01.01.2021 |
| Дата издания: | 28.03.1986 |
| Дата введения: | 01.01.1987 |
| Код ОКП: | 330000 |
| Взамен в части: | ГОСТ 183-74 в части пп. 5.1 - 5.9 |
| Содержит требования: | СТ СЭВ 3170-81 |
| Нормативные ссылки: | IEC 60034-8(1972) |
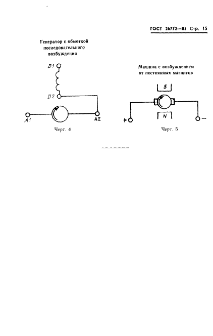
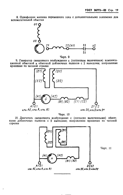
| Область применения: | Настоящий стандарт распространяется на все виды электрических машин постоянного и переменного тока и устанавливает обозначение выводов их обмоток. Обозначения выводов буквами латинского алфавита распространяются только на вновь разрабатываемые машины. Обозначения выводов буквами русского алфавита распространяются только на ранее разработанные и модернизированные машины |
| Список изменений: | №1 от 01.01.1989 (рег. 13.10.1988) «Срок действия продлен» |
|