| Обозначение: |  ГОСТ 26540-85 |
| Статус: | действующий |
| Название рус.: | Хвостовики цилиндрические для регулируемых втулок и оправок и стопорные гайки. Основные параметры |
| Название англ.: | Straight shanrs for adjustable bushes and arbouas and locking nuts main characteristics |
| Дата актуализации текста: | 06.04.2015 |
| Дата актуализации описания: | 01.07.2023 |
| Дата издания: | 03.07.1985 |
| Дата введения: | 01.01.1986 |
| Код ОКП: | 392800 |
| Содержит требования: | СТ СЭВ 4643-84 |
| Нормативные ссылки: | ГОСТ 24737-81; ГОСТ 9562-81 |
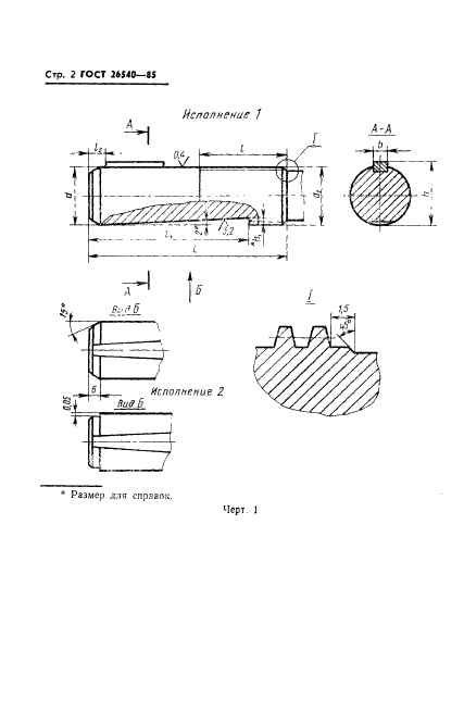
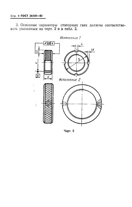
| Область применения: | Настоящий стандарт распространяется на цилиндрические хвостовики для регулируемых втулок и оправок и стопорные гайки, применяемые на расточных, фрезерных станках с числовым программным управлением |
|