| Обозначение: |  ГОСТ 12876-67 |
| Статус: | действующий |
| Название рус.: | Поверхности опорные под крепежные детали. Размеры |
| Название англ.: | Bearing surface under fasteners. Dimensions |
| Дата актуализации текста: | 06.04.2015 |
| Дата актуализации описания: | 01.07.2023 |
| Дата издания: | 01.08.2006 |
| Дата введения: | 01.01.1969 |
| Код ОКП: | 160000 |
| Взамен: | МН 5016-63 |
| Содержит требования: | СТ СЭВ 213-82 |
| Нормативные ссылки: | ГОСТ 11284-75; ГОСТ 13682-80 |
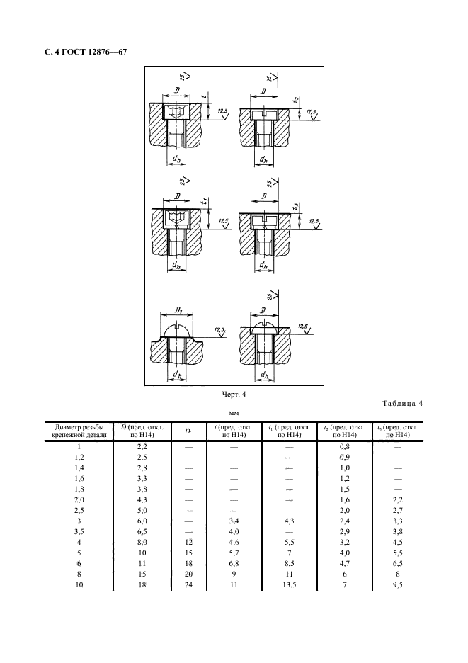
| Область применения: | Настоящий стандарт распространяется на опорные поверхности под крепежные детали с диаметром стержня от 1 до 48 мм, изготовляемые по государственным стандартам |
| Список изменений: | №2 от 31.08.1974 (рег. 05.06.1974) «Срок действия продлен» №3 от 30.09.1980 (рег. 09.06.1980) «Срок действия продлен» №4 от 01.01.1984 (рег. 13.04.1983) «Срок действия продлен» |
|