| Обозначение: |  ГОСТ 30493-96 |
| Статус: | заменён |
| Название рус.: | Изделия санитарные керамические. Типы и основные размеры |
| Название англ.: | Ceramic sanitary ware. Types and principal dimensions |
| Дата актуализации текста: | 06.04.2015 |
| Дата актуализации описания: | 01.07.2023 |
| Дата регистрации: | 11.12.1996 |
| Дата издания: | 01.07.2006 |
| Дата введения: | 01.07.1998 |
| Дата окончания срока действия: | 01.03.2018 |
| Взамен: | ГОСТ 755-85; ГОСТ 21485.4-76; ГОСТ 21485.5-76; ГОСТ 22847-85; ГОСТ 23759-85; ГОСТ 26901-86;СТ СЭВ 1002-78 |
| Заменяющий: | ГОСТ 30493-2017 |
| Нормативные ссылки: | ГОСТ 13449-82; ГОСТ 15167-93; ГОСТ 21485-94 |
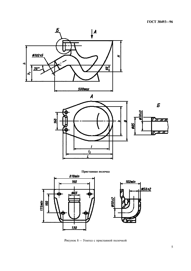
| Область применения: | Настоящий стандарт распространяется на санитарные керамические (фарфоровые, полуфарфоровые и фаянсовые) умывальники, пьедесталы для умывальников, унитазы, смывные бачки, биде , писсуары и устанавливает их типы и основные размеры |
| Список изменений: | №0 от 01.11.2007 (рег. 01.11.2007) «Дата введения перенесена» |
| Приложение №1: | Поправка к ГОСТ 30493-96 |
|