| Обозначение: |  ГОСТ 31.1066.03-97 |
| Статус: | действующий |
| Название рус.: | Приспособления к металлорежущим станкам. Оправки центровые для точных работ. Общие технические условия |
| Название англ.: | Attachments for metal-cutting tools. Centre arbors for precision machining. General specifications |
| Дата актуализации текста: | 06.04.2015 |
| Дата актуализации описания: | 01.07.2023 |
| Дата регистрации: | 25.04.1997 |
| Дата издания: | 01.11.2005 |
| Дата введения: | 01.07.1998 |
| Код ОКП: | 396100 |
| Взамен: | ГОСТ 16211-70; ГОСТ 16212-70; ГОСТ 16213-70 |
| Нормативные ссылки: | ГОСТ 9.014-78; ГОСТ 9.301-86; ГОСТ 9.302-88; ГОСТ 9.306-85; ГОСТ 515-77; ГОСТ 1435-99; ГОСТ 4543-71; ГОСТ 8820-69; ГОСТ 9012-59; ГОСТ 9378-93; ГОСТ 14034-74; ГОСТ 14192-96; ГОСТ 15150-69; ГОСТ 18617-83; ГОСТ 22267-76; ГОСТ 24597-81; ГОСТ 24643-81 |
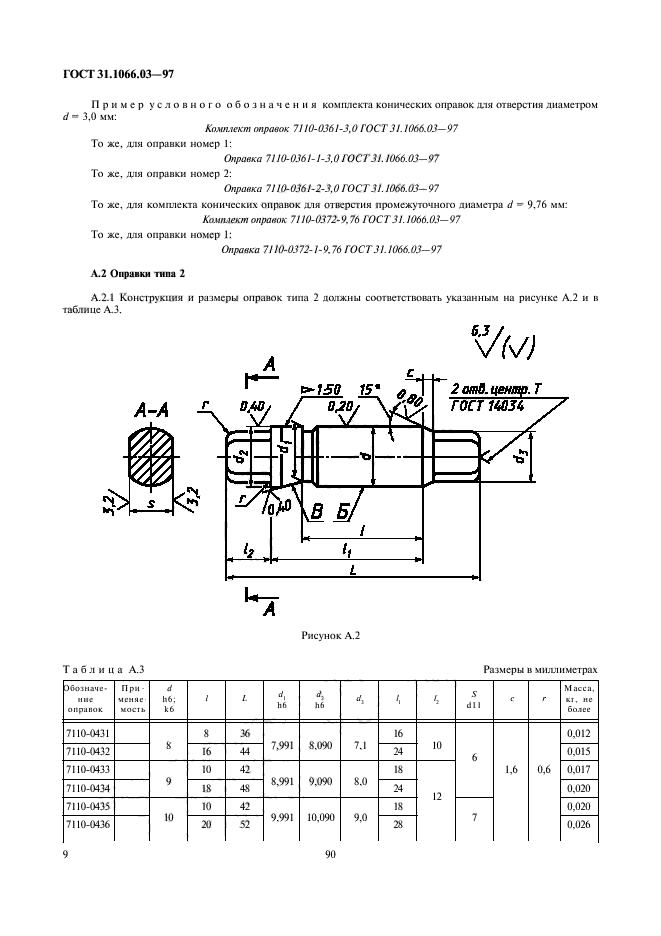
| Область применения: | Настоящий стандарт распространяется на центровые оправки, предназначенные для установки деталей с цилиндрическим базовым отверстием при точной обработке их на токарных, шлифовальных и других металлорежущих станках |
|