| Обозначение: |  ГОСТ 26992-86 |
| Статус: | заменён |
| Название рус.: | Прогоны железобетонные для покрытий зданий промышленных и сельскохозяйственных предприятий. Технические условия |
| Название англ.: | Reinforced purlins for roofings in industrial and agricultural buildings. Specifications |
| Дата актуализации текста: | 06.04.2015 |
| Дата актуализации описания: | 01.07.2023 |
| Дата издания: | 29.12.1986 |
| Дата введения: | 01.01.1987 |
| Дата окончания срока действия: | 01.06.2017 |
| Код ОКП: | 582500 |
| Заменяющий: | ГОСТ 26992-2016 |
| Нормативные ссылки: | ГОСТ 13015.0-83; ГОСТ 26633-85; ГОСТ 5781-82; ГОСТ 10884-81; ГОСТ 6727-80; ГОСТ 13015.1-81 |
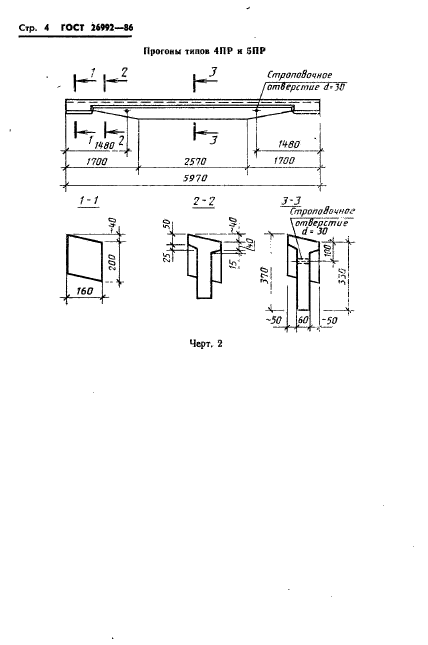
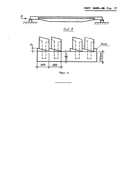
| Область применения: | Настоящий стандарт распространяется на железобетонные прогоны таврового сечения длиной 6 м с переменной высотой стенки, изготовляемые из тяжелого бетона и предназначенные для применения в покрытиях зданий промышленных и сельскохозяйственных предприятий при уклоне кровли до 5 и до 25 % включительно |
|