| Обозначение: |  ГОСТ 27527-87 |
| Статус: | действующий |
| Название рус.: | Костюмы для военнослужащих военно-морского флота в районах с жарким климатом. Технические условия |
| Название англ.: | Navy military men's uniform intended for hot climatic regions. Specifications |
| Дата актуализации текста: | 06.04.2015 |
| Дата актуализации описания: | 01.07.2023 |
| Дата издания: | 23.03.1988 |
| Дата введения: | 01.01.1989 |
| Код ОКП: | 858212 |
| Нормативные ссылки: | ГОСТ 4103-82; ГОСТ 6309-80; ГОСТ 11259-79; ГОСТ 12807-79; ГОСТ 19159-85; ГОСТ 19902-79; ГОСТ 21790-76; ГОСТ 23167-78; ГОСТ 24782-81;OCT 17-148-72;OCT 17-805-85;OCT 17-808-79;OCT 17-835-80;OCT 17-921-82;TУ6-19-137-79 |
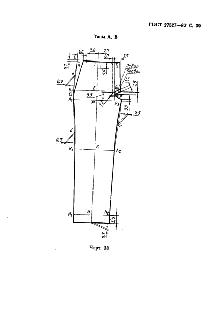
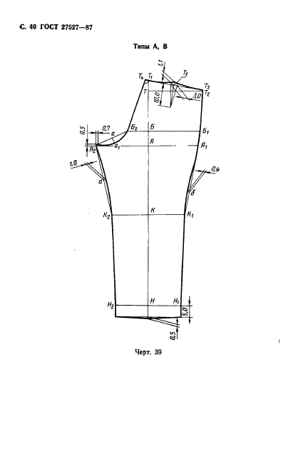
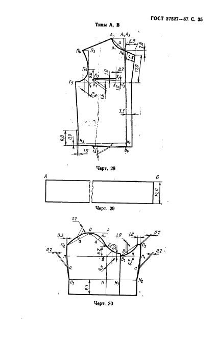
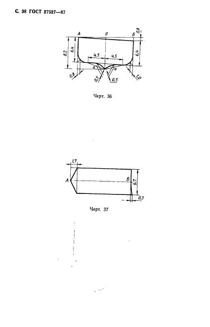
| Область применения: | Настоящий стандарт распространяется на костюмы из хлопчатобумажной ткани, предназначенные для военнослужащих Военно-Морского Флота при плавании и несения береговой службы в районах с жарким климатом |
|