| Обозначение: |  ГОСТ 27535-87 |
| Статус: | действующий |
| Название рус.: | Машины землеройные. Автогрейдеры. Термины, определения и техническая характеристика для коммерческой документации |
| Название англ.: | Earth-moving machinery. Graders. Terminology and commersial specifications |
| Дата актуализации текста: | 06.04.2015 |
| Дата актуализации описания: | 01.07.2023 |
| Дата издания: | 11.03.1988 |
| Дата введения: | 01.01.1989 |
| Код ОКП: | 481410;481000 |
| Содержит требования: | ISO 7134:1985 |
| Нормативные ссылки: | ISO 6165:1987;ISO 6746-1:1987;ISO 6746-2:1987;ISO 6747:1988;ISO 1585:1982;ISO 6014:1986;ISO 7457:1983;ISO 3450:1985;ISO 5010:1984; ГОСТ 27257-87 |
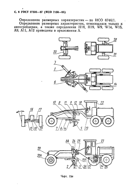
| Область применения: | Настоящий стандарт распространяется на машины землеройные и устанавливает термины, определения и содержание технической характеристики для коммерческой документации по автогрейдерам и их рабочему оборудованию |
|