Скачать ГОСТ 27896-88 Резины, полимерные эластичные материалы, прорезиненные ткани и ткани с полимерным эластичным покрытием. Методы определения топливонепроницаемостиДата актуализации: 01.06.2025 ГОСТ 27896-88
Резины, полимерные эластичные материалы, прорезиненные ткани и ткани с полимерным эластичным покрытием. Методы определения топливонепроницаемости
| Обозначение: |  ГОСТ 27896-88 |
| Статус: | действующий |
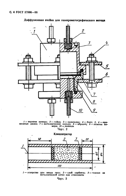
| Название рус.: | Резины, полимерные эластичные материалы, прорезиненные ткани и ткани с полимерным эластичным покрытием. Методы определения топливонепроницаемости | | Название англ.: | Rubbers, polimer elastie materials, rubberized and elastie polimer coated fabries. Methods for determination of fuel permeability | | Дата актуализации текста: | 06.04.2015 | | Дата актуализации описания: | 01.07.2023 | | Дата издания: | 24.02.1989 | | Дата введения: | 01.07.1990 | | Код ОКП: | 250900 | | Нормативные ссылки: | ГОСТ 12.1.005-76; ГОСТ 305-82; ГОСТ 443-76; ГОСТ 2084-77; ГОСТ 3022-80; ГОСТ 6613-86; ГОСТ 5072-79; ГОСТ 5789-78; ГОСТ 8505-80; ГОСТ 10007-80; ГОСТ 10227-86; ГОСТ 12308-80; ГОСТ 17299-78; ГОСТ 17433-80; ГОСТ 24104-80 | | Область применения: | Настоящий стандарт распространяется на резины, полимерные эластичные материалы, прорезиненные ткани, ткани с полимерным эластичным покрытием (далее - ткани) и изделия из них и устанавливает гравиметрический и газохроматографический методы определения проницаемости топлив (дизельных, реактивных), бензинов, индивидуальных жидких углеводородов и их смесей. Сущность гравиметрического метода заключается в определении изменения массы испытуемой среды, прошедшей через образец материала за определенное время, газохроматографического - в концентрации испытуемой среды, продиффундировавшей через материал за определенное время, на сорбенте с последующей термической десорбцией и количественном определении методом газовой хроматографии. Методы предназначены для контрольных и исследовательских испытаний | |
                 
|