| Обозначение: |  ГОСТ 24975.2-89 |
| Статус: | действующий |
| Название рус.: | Этилен и пропилен. Методы определения серы |
| Название англ.: | Ethylene and propylene. Method for determination of sulphur |
| Дата актуализации текста: | 06.04.2015 |
| Дата актуализации описания: | 01.07.2023 |
| Дата издания: | 26.03.1990 |
| Дата введения: | 01.01.1991 |
| Код ОКП: | 240000 |
| Взамен: | ГОСТ 24975.2-81 |
| Содержит требования: | СТ СЭВ 1501-79 |
| Нормативные ссылки: | ГОСТ 1770-74; ГОСТ 2053-77; ГОСТ 3022-80; ГОСТ 3044-84; ГОСТ 3118-77; ГОСТ 3399-76; ГОСТ 4108-72; ГОСТ 4145-74; ГОСТ 4159-79; ГОСТ 4220-75; ГОСТ 4328-77; ГОСТ 4461-77; ГОСТ 4517-87; ГОСТ 4919.1-77; ГОСТ 5072-79; ГОСТ 5583-78; ГОСТ 6259-75; ГОСТ 6709-72; ГОСТ 6824-76; ГОСТ 9293-74; ГОСТ 9932-75; ГОСТ 10163-76; ГОСТ 10929-76; ГОСТ 18300-87; ГОСТ 19034-82; ГОСТ 20292-74; ГОСТ 24975.0-89; ГОСТ 25336-82; ГОСТ 25794.1-83; ГОСТ 25794.2-83; ГОСТ 27025-86; ГОСТ 27068-86; ГОСТ 27544-87 |
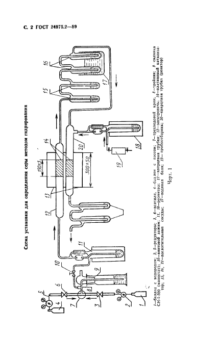
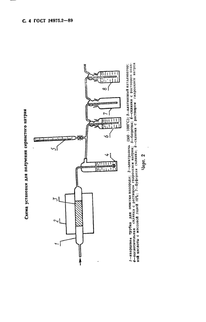
| Область применения: | Настоящий стандарт распространяется на этилен и пропилен и устанавливает три метода определения серы; гидрирования, сжигания в кислородно-водородном пламени и микрокулонометрический |
|