| Обозначение: |  ГОСТ 28042-89 |
| Статус: | заменён |
| Название рус.: | Плиты покрытий железобетонные для зданий предприятий. Технические условия |
| Название англ.: | Reinforced concrete roofings for enterprises buildings. Specifications |
| Дата актуализации текста: | 06.04.2015 |
| Дата актуализации описания: | 01.07.2023 |
| Дата издания: | 01.01.1989 |
| Дата введения: | 01.01.1990 |
| Дата окончания срока действия: | 01.01.2015 |
| Код ОКП: | 584100 |
| Заменяющий: | ГОСТ 28042-2013 |
| Нормативные ссылки: | ГОСТ 5781-82; ГОСТ 6727-80; ГОСТ 7348-81; ГОСТ 10060-87; ГОСТ 10180-78; ГОСТ 10181.0-81; ГОСТ 10181.3-81; ГОСТ 10884-81; ГОСТ 10922-75; ГОСТ 12730.0-78; ГОСТ 12730.1-78; ГОСТ 12730.5-84; ГОСТ 13015.0-83; ГОСТ 13015.1-81; ГОСТ 13015.2-81; ГОСТ 13015.4-84; ГОСТ 13840-68; ГОСТ 14098-85; ГОСТ 17623-87; ГОСТ 17624-87; ГОСТ 17625-83; ГОСТ 18105-86; ГОСТ 22362-77; ГОСТ 22690-88; ГОСТ 22701.0-77; ГОСТ 22701.1-77; ГОСТ 22701.2-77; ГОСТ 22701.3-77; ГОСТ 22701.4-77; ГОСТ 22701.5-77; ГОСТ 22701.6-79; ГОСТ 22701.7-81; ГОСТ 22904-78; ГОСТ 23009-78; ГОСТ 23858-79; ГОСТ 25820-83; ГОСТ 26433.0-85; ГОСТ 26433.1-89; ГОСТ 26633-85 |
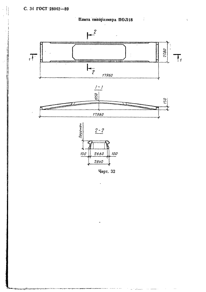
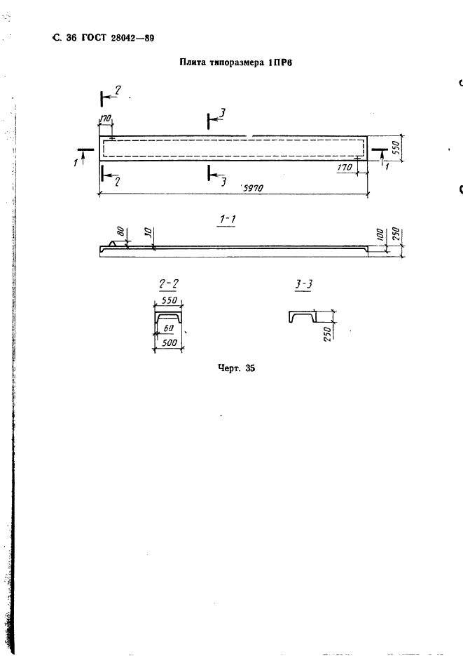
| Область применения: | Настоящий стандарт распространяется на железобетонные ребристые и плоские плиты, изготовляемые из тяжелого или конструкционного легкого бетона и предназначенные для несущей основы кровли зданий предприятий всех отраслей промышленности и народного хозяйства, за исключением зданий гражданского строительства (жилых и общественных) |
|