| Обозначение: |  ГОСТ 23752.1-92 |
| Статус: | действующий |
| Название рус.: | Платы печатные. Методы испытаний |
| Название англ.: | Printed circuit boards. Test methods |
| Дата актуализации текста: | 06.04.2015 |
| Дата актуализации описания: | 01.01.2021 |
| Дата издания: | 08.05.1992 |
| Дата введения: | 01.01.1993 |
| Код ОКП: | 669200 |
| Содержит требования: | IEC 60326-2(1990) |
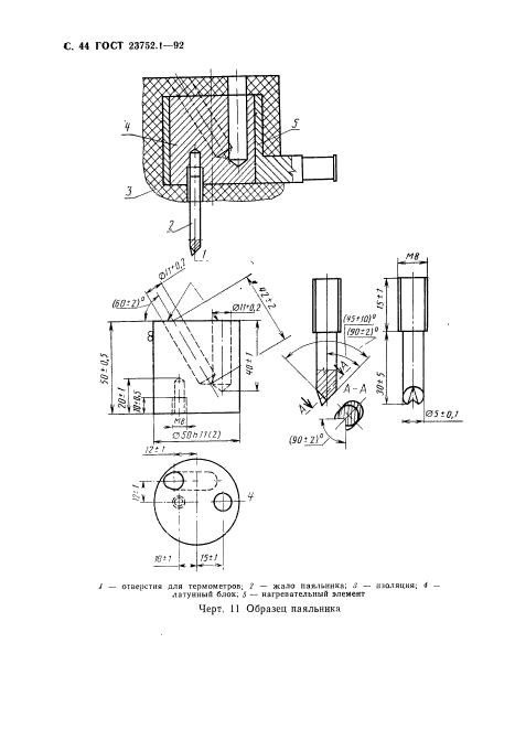
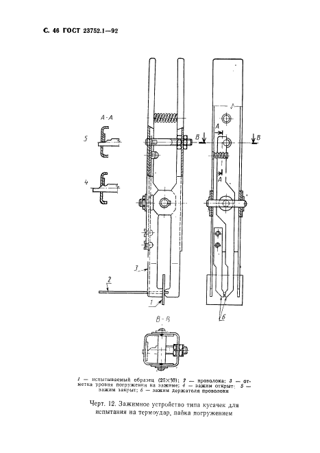
| Область применения: | Настоящий стандарт содержит основную информацию по методам и процедуре испытаний печатных плат, включая предварительное кондиционирование их в окружающей средею Настоящий стандарт не распространяется на требования, предъявляемые к размерам, свойствам и эксплуатационным характеристикам печатных плат |
| Список изменений: | №0 от 05.03.2013 (рег. 05.03.2013) «Дата введения перенесена» |
|