| Обозначение: |  ГОСТ 22780-93 |
| Статус: | заменён |
| Название рус.: | Оси для вагонов железных дорог колеи 1520 (1524) мм. Типы, параметры и размеры |
| Название англ.: | Car axles for 1520 (1524) mm gauge main-line railways. Types, parameters and dimensions |
| Дата актуализации текста: | 06.04.2015 |
| Дата актуализации описания: | 01.07.2023 |
| Дата регистрации: | 21.10.1993 |
| Дата издания: | 19.06.1995 |
| Дата введения: | 01.01.1995 |
| Дата окончания срока действия: | 01.04.2016 |
| Код ОКП: | 318701 |
| Взамен: | ГОСТ 22780-77 |
| Заменяющий: | ГОСТ 33200-2014 |
| Содержит требования: | ISO 1005-9:1986 |
| Нормативные ссылки: | ГОСТ 2.308-79; ГОСТ 2.309-73; ГОСТ 2789-73; ГОСТ 4008-89; ГОСТ 4728-89; ГОСТ 4835-80; ГОСТ 22235-76; ГОСТ 25346-89 |
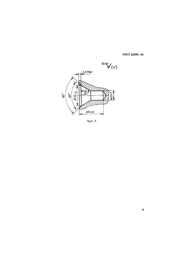
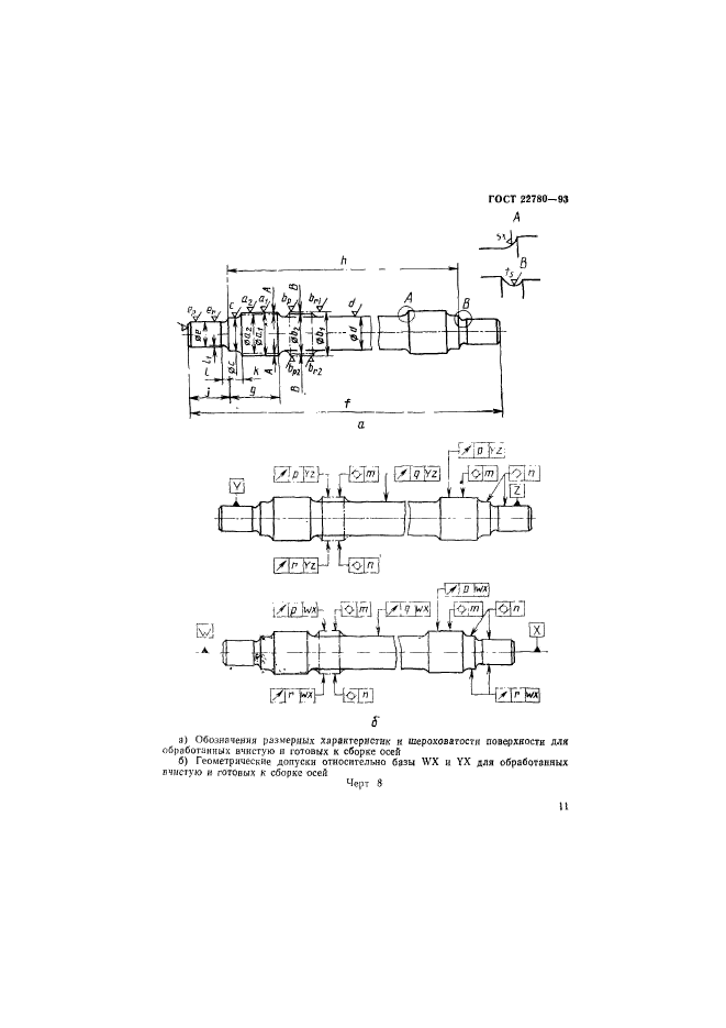
| Область применения: | Настоящий стандарт распространяется на оси колесных пар груховых и пассажирских вагонов, вагонов электропоездов и немоторных вагонов дизель-поездов магистральных железных дорог колеи 1520 (1524) мм. Стандарт не распространяется на оси, предназначенные для ремонта колесных пар |
| Список изменений: | №0 от 01.11.2015 (рег. 06.11.2015) «Восстановлен на территории РФ» |
|