| Обозначение: |  ГОСТ 25140-93 |
| Статус: | действующий |
| Название рус.: | Сплавы цинковые литейные. Марки |
| Название англ.: | Zinc alloys for casting. Grades |
| Дата актуализации текста: | 06.04.2015 |
| Дата актуализации описания: | 01.07.2023 |
| Дата регистрации: | 19.10.1993 |
| Дата издания: | 19.02.1996 |
| Дата введения: | 01.01.1995 |
| Код ОКП: | 172140 |
| Взамен: | ГОСТ 25140-82 |
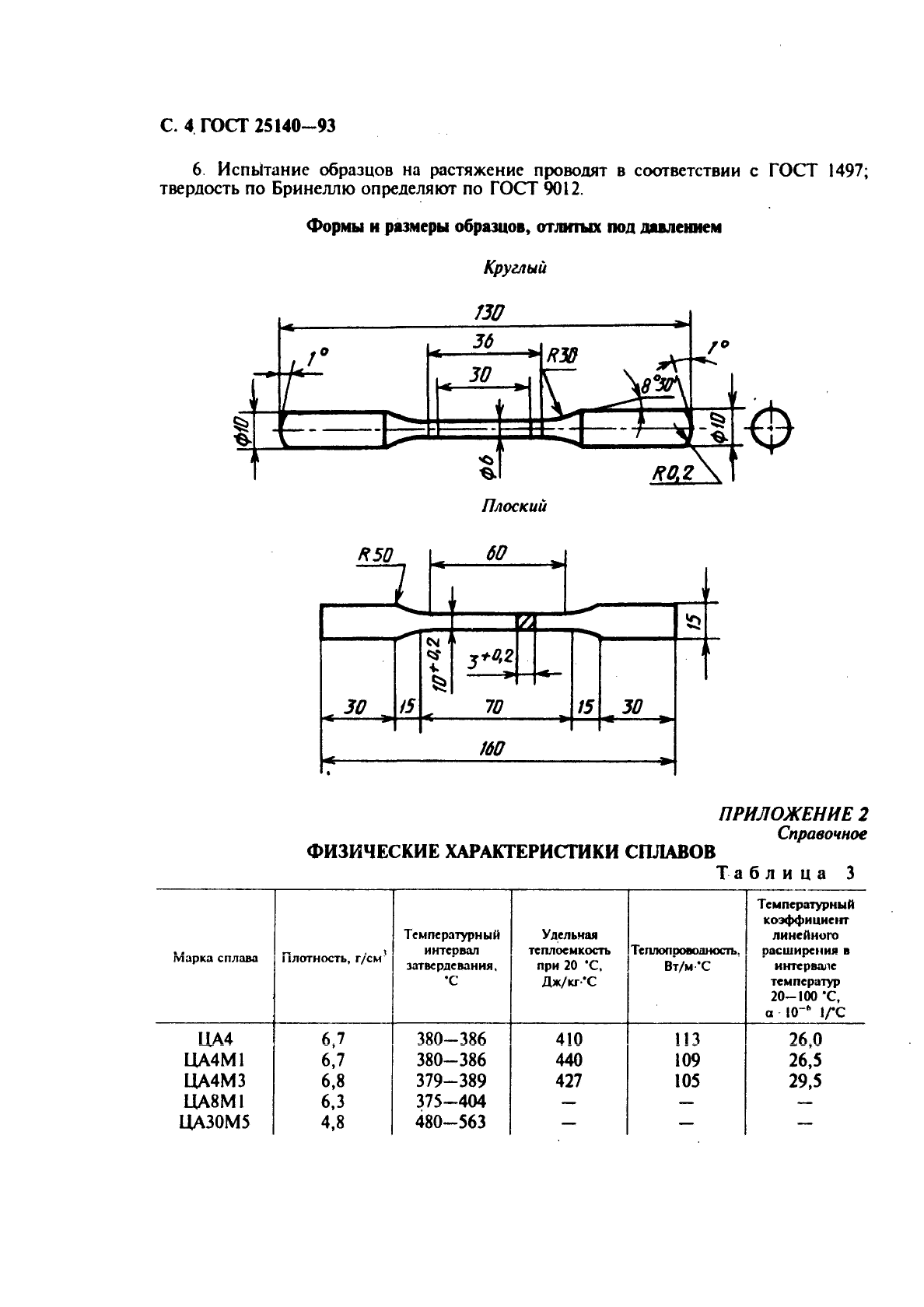
| Нормативные ссылки: | ГОСТ 1497-84; ГОСТ 9012-59; ГОСТ 25284.0-82; ГОСТ 25284.1-82; ГОСТ 25284.2-82; ГОСТ 25284.3-82; ГОСТ 25284.4-82; ГОСТ 25284.5-82; ГОСТ 25284.6-82; ГОСТ 25284.7-82; ГОСТ 25284.8-82 |
| Область применения: | Настоящий стандарт устанавливает марки цинковых литейных сплавов в отливках |
| Список изменений: | №0 от 01.01.1995 (рег. 02.06.1994) «Поправка к изменению» |
|