| Обозначение: |  ГОСТ 30340-95 |
| Статус: | заменён |
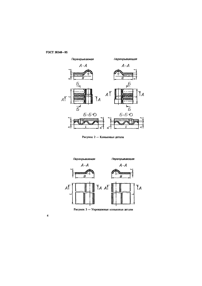
| Название рус.: | Листы асбестоцементные волнистые. Технические условия |
| Название англ.: | Asbestos-cement corrugated sheets. Specifications |
| Дата актуализации текста: | 06.04.2015 |
| Дата актуализации описания: | 01.07.2023 |
| Дата регистрации: | 19.04.1995 |
| Дата издания: | 25.06.1996 |
| Дата введения: | 01.09.1996 |
| Дата окончания срока действия: | 01.07.2013 |
| Код ОКП: | 578100 |
| Заменяющий: | ГОСТ 30340-2012 |
| Область применения: | Настоящий стандарт распространяется на асбестоцементные волнистые листы и детали к ним, предназначенные для устройства кровель и стеновых ограждений зданий и сооружений |
|