| Обозначение: |  ГОСТ 24437-93 |
| Статус: | не действует в РФ |
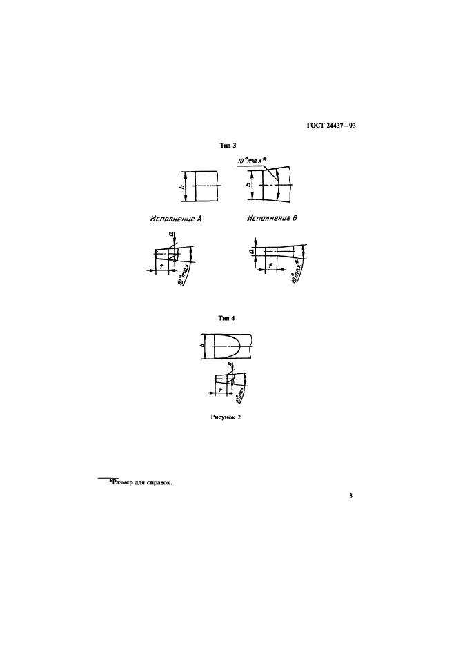
| Название рус.: | Отвертки слесарно-монтажные. Рабочая часть отверток для винтов и шурупов с прямым шлицем. Размеры |
| Название англ.: | Screwdrivers for fitting and assembling. Blades of screwdrivers for slotted screws and woodscrews. Dimensions |
| Дата актуализации текста: | 06.04.2015 |
| Дата актуализации описания: | 01.07.2023 |
| Дата регистрации: | 15.04.1994 |
| Дата издания: | 22.05.1996 |
| Дата введения: | 01.07.1996 |
| Дата окончания срока действия: | 01.01.2019 |
| Код ОКП: | 392660 |
| Взамен: | ГОСТ 24437-80 |
| На территории РФ пользоваться: | ГОСТ Р 57979-2017 |
| Нормативные ссылки: | ISO 2380:1989 |
| Область применения: | Настоящий стандарт устанавливает форму и размеры рабочей части ручных и механизированных отверток для винтов и шурупов с прямым шлицем |
| Список изменений: | №0 от 01.01.2019 (рег. 22.11.2017) «Поправка к изменению» |
|