| Обозначение: |  ГОСТ 19091-2000 |
| Статус: | заменён |
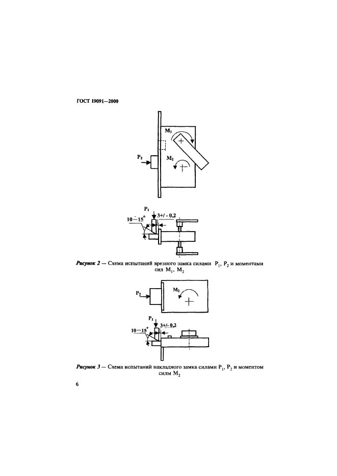
| Название рус.: | Замки и защелки для дверей. Методы испытаний |
| Название англ.: | Locks and latches for doors. Methods and testing |
| Дата актуализации текста: | 06.04.2015 |
| Дата актуализации описания: | 01.07.2023 |
| Дата регистрации: | 17.05.2000 |
| Дата издания: | 01.01.2001 |
| Дата введения: | 01.07.2001 |
| Дата окончания срока действия: | 01.01.2014 |
| Код ОКП: | 498000 |
| Взамен: | ГОСТ 19091-82; ГОСТ 23306-87 |
| Заменяющий: | ГОСТ 19091-2012 |
| Нормативные ссылки: | ГОСТ 5089-97; ГОСТ 15150-69; ГОСТ 18321-73 |
| Область применения: | Настоящий стандарт распространяется на замки, защелки, механизмы цилиндровые (МЦ) для дверей различного назначения и устанавливает методы приемочных, периодических, типовых, сертификационных испытаний замков, защелок и МЦ на безотказность, прочность и определение эксплуатационных усилий. Методы испытаний основаны на имитации эксплуатационных нагрузок замков и защелок. Стандарт не устанавливает методы испытаний замков и МЦ по показателю стойкости к вскрытию (взлому) |
|