| Обозначение: |  ГОСТ 22733-2002 |
| Статус: | заменён |
| Название рус.: | Грунты. Метод лабораторного определения максимальной плотности |
| Название англ.: | Soils. Laboratory method for determination of maximum density |
| Дата актуализации текста: | 06.04.2015 |
| Дата актуализации описания: | 01.07.2023 |
| Дата регистрации: | 24.04.2002 |
| Дата издания: | 11.06.2003 |
| Дата введения: | 01.07.2003 |
| Дата окончания срока действия: | 01.01.2017 |
| Взамен: | ГОСТ 22733-77 |
| Заменяющий: | ГОСТ 22733-2016 |
| Нормативные ссылки: | ГОСТ 166-89; ГОСТ 427-75; ГОСТ 1770-74; ГОСТ 5180-84; ГОСТ 8269.0-97; ГОСТ 9147-80; ГОСТ 12071-2000; ГОСТ 23932-90; ГОСТ 24104-2001; ГОСТ 25100-95; ГОСТ 29329-92; ГОСТ 30416-96 |
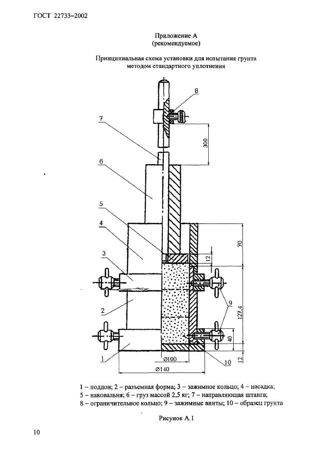
| Область применения: | Настоящий стандарт распространяется на природные и техногенные дисперсные грунты и устанавливает метод лабораторного определения максимальной плотности сухого грунта и соответствующей ей влажности при их исследовании для строительства. Стандарт не распространяется на органо-минеральные и органические грунты и грунты, содержащие частицы крупнее 20 мм |
|