| Обозначение: |  ГОСТ 21.602-2003 |
| Статус: | заменён |
| Название рус.: | Система проектной документации для строительства. Правила выполнения рабочей документации отопления, вентиляции и кондиционирования |
| Название англ.: | System of design documents for construction. Rules for execution of working documentation of heating, ventilation and air conditioning |
| Дата актуализации текста: | 06.04.2015 |
| Дата актуализации описания: | 01.07.2023 |
| Дата регистрации: | 18.10.2002 |
| Дата издания: | 06.05.2004 |
| Дата введения: | 01.06.2003 |
| Дата окончания срока действия: | 01.07.2017 |
| Взамен: | ГОСТ 21.602-79 |
| Заменяющий: | ГОСТ 21.602-2016 |
| Нормативные ссылки: | ГОСТ 2.316-68; ГОСТ 2.782-96; ГОСТ 2.785-70; ГОСТ 21.101-97; ГОСТ 21.110-95; ГОСТ 21.112-87; ГОСТ 21.114-95; ГОСТ 21.205-93; ГОСТ 21.206-93; ГОСТ 21.404-85; ГОСТ 21.501-93; ГОСТ 3262-75 |
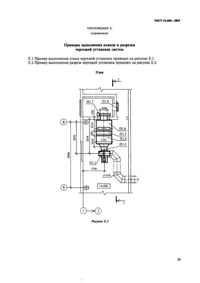
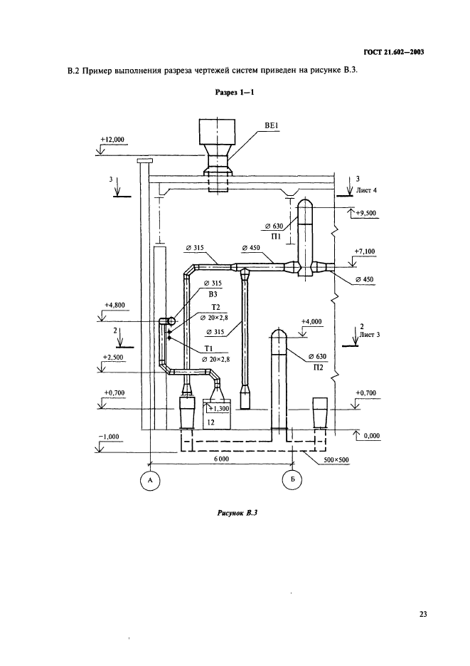
| Область применения: | Настоящий стандарт устанавливает состав и правила оформления рабочей документации систем отопления, вентиляции и кондиционирования зданий и сооружений различного назначения |
|