| Обозначение: |  ГОСТ 13437-68 |
| Статус: | действующий |
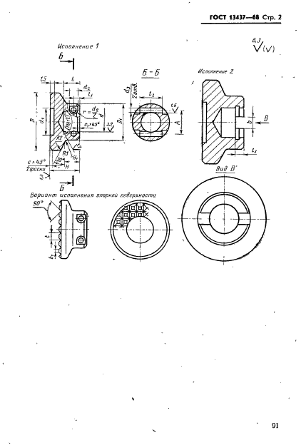
| Название рус.: | Пяты увеличенные для нажимных винтов станочных приспособлений. Конструкция |
| Название англ.: | Feet increased for pressure screws for machine retaining devices. Design |
| Дата актуализации текста: | 06.04.2015 |
| Дата актуализации описания: | 01.01.2021 |
| Дата издания: | 01.11.1982 |
| Дата введения: | 01.01.1969 |
| Код ОКП: | 396100 |
| Взамен в части: | ГОСТ 3390-57 в части типа Б |
| Нормативные ссылки: | ГОСТ 13941-80 |
| Область применения: | Настоящий стандарт распространяется на пяты увеличенные для нажимных винтов станочных приспособлений |
| Список изменений: | №1 от 01.12.1980 (рег. 29.06.1980) «Срок действия продлен» №2 от 01.03.1983 (рег. 28.09.1982) «Срок действия продлен» №3 от 01.01.1990 (рег. 15.05.1989) «Поправка» |
|