Скачать ГОСТ 14982-69 Опоки литейные цельнолитые стальные прямоугольные размерами в свету: длиной 1000; 1200 мм, шириной 800 мм, высотой 450; 500 мм. Конструкция и размерыДата актуализации: 01.06.2025 ГОСТ 14982-69
Опоки литейные цельнолитые стальные прямоугольные размерами в свету: длиной 1000; 1200 мм, шириной 800 мм, высотой 450; 500 мм. Конструкция и размеры
| Обозначение: |  ГОСТ 14982-69 |
| Статус: | действующий |
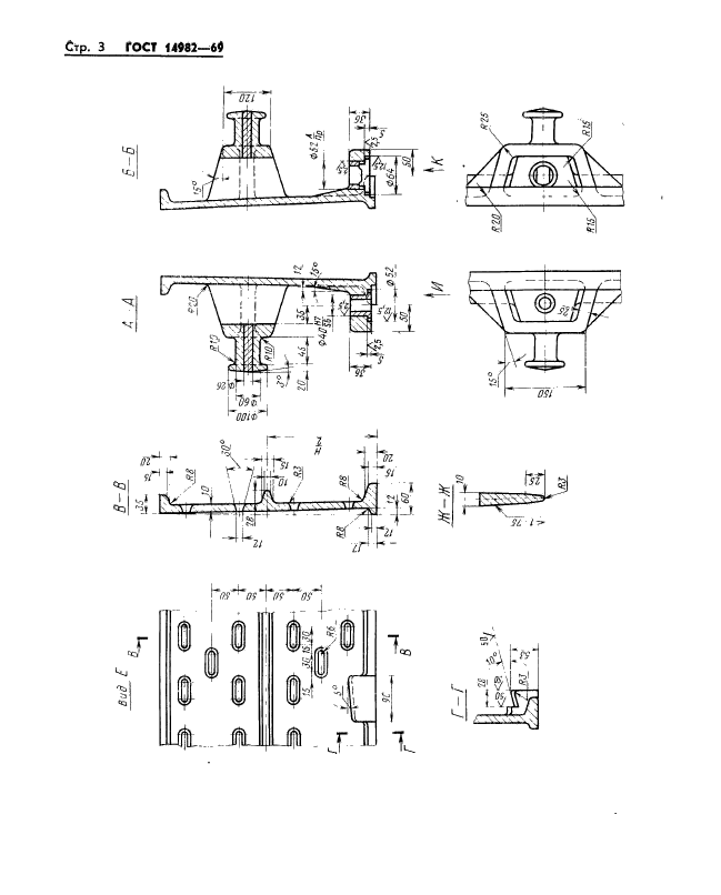
| Название рус.: | Опоки литейные цельнолитые стальные прямоугольные размерами в свету: длиной 1000; 1200 мм, шириной 800 мм, высотой 450; 500 мм. Конструкция и размеры | | Название англ.: | Rectangular steel all-cast mouldling boxes having inside dimensions: length 1000; 1200 mm, width 800 mm, height 450; 500 mm. Construction and dimensions | | Дата актуализации текста: | 06.04.2015 | | Дата актуализации описания: | 01.07.2023 | | Дата издания: | 01.04.1981 | | Дата введения: | 01.01.1971 | | Код ОКП: | 396190 | | Взамен: | МН 1987-61 | | Нормативные ссылки: | ГОСТ 15019-69; ГОСТ 8909-75 | | Область применения: | Настоящий стандарт распространяется на литейные цельнолитые стальные прямоугольные опоки, предназначенные для изготовления песчаных литейных форм при машинной, пескометной и ручной формовке. Стандарт не распространяется на опоки, применяемые при формовке методом прессования под высоким удельным давлением | | Список изменений: | №1 от 01.11.1980 (рег. 09.07.1980) «Срок действия продлен» | |
  
|