Скачать ГОСТ 15015-69 Опоки литейные цельнолитые чугунные прямоугольные размерами в свету: длиной 2000; 2200 мм, шириной от 1200 до 1800 мм, высотой 500; 600 мм. Конструкция и размерыДата актуализации: 01.06.2025 ГОСТ 15015-69
Опоки литейные цельнолитые чугунные прямоугольные размерами в свету: длиной 2000; 2200 мм, шириной от 1200 до 1800 мм, высотой 500; 600 мм. Конструкция и размеры
| Обозначение: |  ГОСТ 15015-69 |
| Статус: | действующий |
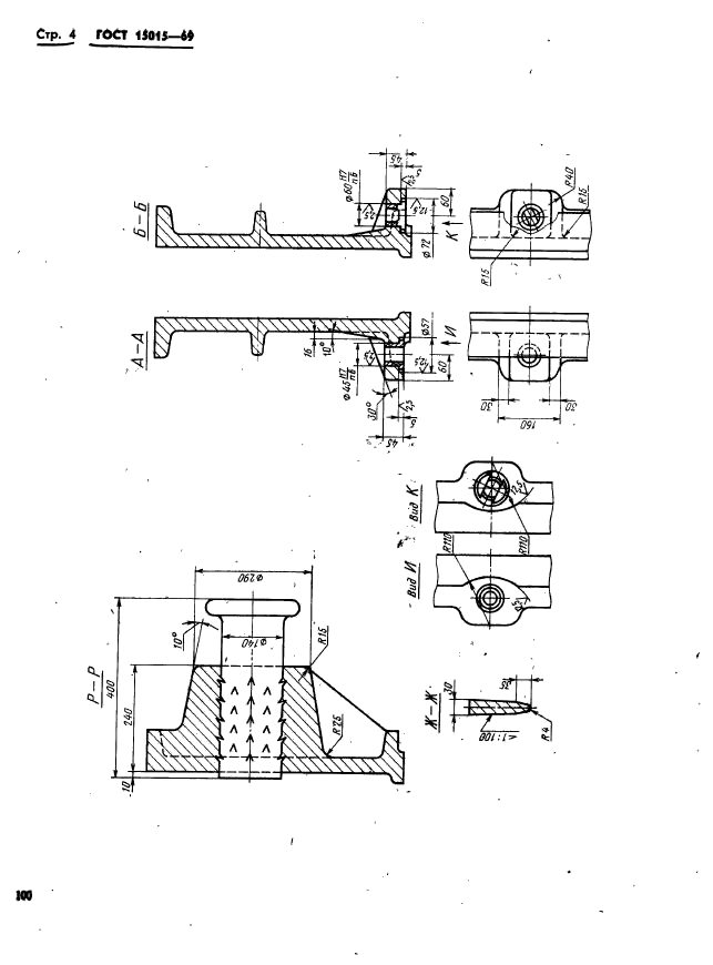
| Название рус.: | Опоки литейные цельнолитые чугунные прямоугольные размерами в свету: длиной 2000; 2200 мм, шириной от 1200 до 1800 мм, высотой 500; 600 мм. Конструкция и размеры | | Название англ.: | Rectangular iron all-cast moulding boxes having inside dimensions: length 2000; 2200 mm, width from 1200 to 1800 mm, height from 500; 600 mm. Construction and dimensions | | Дата актуализации текста: | 06.04.2015 | | Дата актуализации описания: | 01.07.2023 | | Дата издания: | 01.11.1981 | | Дата введения: | 01.01.1971 | | Код ОКП: | 396190 | | Взамен: | МН 2020-61 | | Нормативные ссылки: | ГОСТ 15019-69; ГОСТ 15020-69; ГОСТ 8909-75 | | Область применения: | Настоящий стандарт распространяется на литейные цельнолитые чугунные прямоугольные опоки, предназначенные для изготовления песчаных литейных форм при машинной, пескометной и ручной формовке | | Список изменений: | №1 от 01.11.1980 (рег. 09.07.1980) «Срок действия продлен» | |
   
|