| Обозначение: |  ГОСТ 3839-70 |
| Статус: | действующий |
| Название рус.: | Лампы электронные маломощные. Методы испытаний на долговечность |
| Название англ.: | Low-power electronic tubes. Test methods for life cycle |
| Дата актуализации текста: | 06.04.2015 |
| Дата актуализации описания: | 01.07.2023 |
| Дата издания: | 01.05.1998 |
| Дата введения: | 01.01.1971 |
| Код ОКП: | 634300 |
| Взамен: | ГОСТ 3839-47 |
| Нормативные ссылки: | ГОСТ 7428-74; ГОСТ 19438.0-80 |
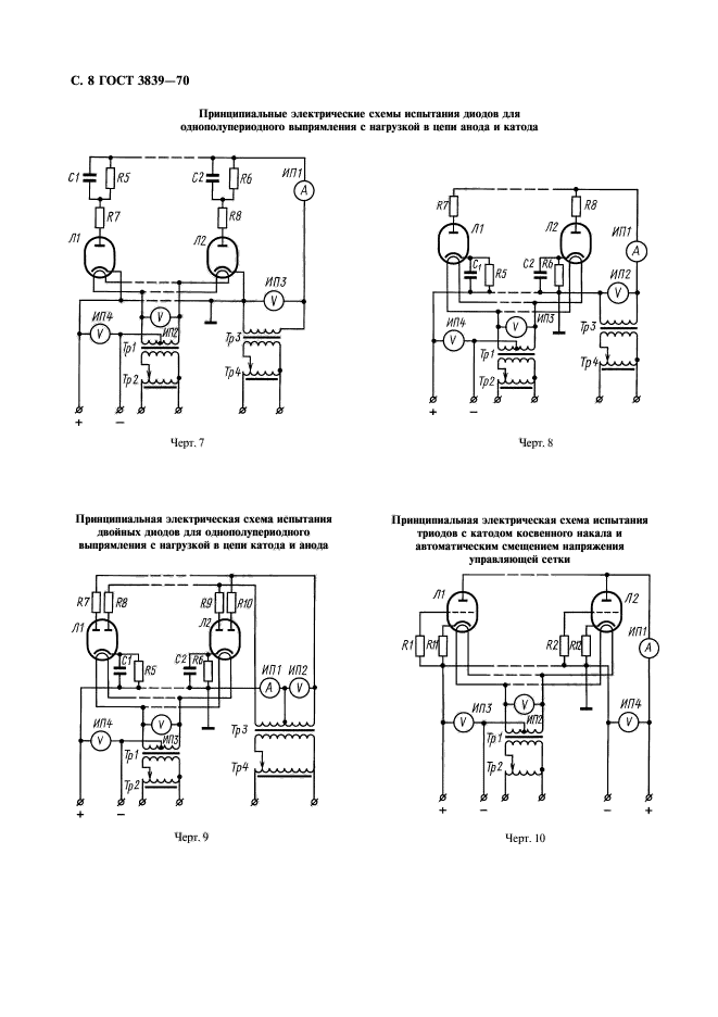
| Область применения: | Настоящий стандарт распространяется на лампы электронные усилительные и выпрямительные мощностью, продолжительно выделяемой на аноде, до 25 Вт и устанавливает общие методы испытаний на долговечность усилительных ламп в статическом режиме, выпрямительных ламп в режиме выпрямления тока при нормальной и повышенной температурах окружающей среды, а также требования к испытательным установкам |
| Список изменений: | №0 от 01.07.1988 (рег. 23.12.1987) «Текстовое изменение; Изменено заглавие» №1 от 01.03.1979 (рег. 01.11.1978) «Срок действия продлен» |
|