| Обозначение: |  ГОСТ 17438-72 |
| Статус: | действующий |
| Название рус.: | Пассатижи. Технические условия |
| Название англ.: | Combination pliers. Specifications |
| Дата актуализации текста: | 06.04.2015 |
| Дата актуализации описания: | 01.07.2023 |
| Дата издания: | 01.06.1999 |
| Дата введения: | 01.07.1973 |
| Код ОКП: | 392643 |
| Взамен: | МН 516-60 |
| Отменен в части: | Утратил силу на территории РФ в части разделов 2 - 6, приложений 2, 3, с 01.01.2009 действует ГОСТ Р 52786-2007, ГОСТ Р 52787-2007 |
| Содержит требования: | СТ СЭВ 3213-81 |
| На территории РФ пользоваться: | ГОСТ Р 52786-2007; ГОСТ Р 52787-2007 |
| Нормативные ссылки: | ГОСТ 9.032-74 ; ГОСТ 9.301-86; ГОСТ 9.302-88; ГОСТ 9.303-84; ГОСТ 9.306-85; ГОСТ 1050-88; ГОСТ 2789-73; ГОСТ 7505-89; ГОСТ 9013-59; ГОСТ 9378-93; ГОСТ 11516-94; ГОСТ 18088-83; ГОСТ 21474-75; ГОСТ 22133-86 ; ГОСТ 26810-86 |
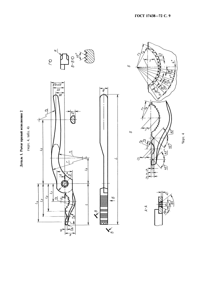
| Область применения: | Настоящий стандарт распространяется на пассатижи, предазначенные для захвата и зажима труб и деталей разных форм. Стандарт не распространяется на пассатижи, изготовляемые из материалов, предназначенных для работы во взрывоопасных условиях |
| Список изменений: | №0 от 01.01.2009 (рег. 30.11.2007) «Поправка к изменению» №1 от 01.11.1979 (рег. 11.09.1979) «Срок действия продлен» №2 от 01.01.1983 (рег. 17.03.1982) «Срок действия продлен» №3 от 01.03.1984 (рег. 05.10.1983) «Срок действия продлен» №4 от 01.09.1987 (рег. 24.03.1987) «Срок действия продлен» №5 от 01.07.1989 (рег. 27.01.1989) «Срок действия продлен» №6 от 01.07.1996 (рег. 12.01.1995) «Срок действия продлен» |
|