| Обозначение: |  ГОСТ 17695-72 |
| Статус: | действующий |
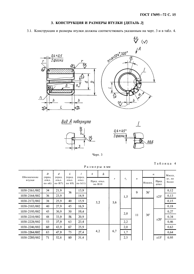
| Название рус.: | Направляющие шариковые с неподвижным сепаратором для штампов листовой штамповки. Конструкция и размеры |
| Название англ.: | Antifriction bearing assemblies with stationary retainer for sheet stamping dies. Construction and dimensions |
| Дата актуализации текста: | 06.04.2015 |
| Дата актуализации описания: | 01.07.2023 |
| Дата издания: | 01.01.2000 |
| Дата введения: | 01.07.1973 |
| Код ОКП: | 396300 |
| Нормативные ссылки: | ГОСТ 801-78; ГОСТ 1050-88; ГОСТ 1476-93; ГОСТ 2789-73; ГОСТ 3722-81; ГОСТ 13119-81; ГОСТ 13130-83; ГОСТ 16093-81; ГОСТ 24643-81; ГОСТ 24705-81 |
| Область применения: | Настоящий стандарт распространяется на конструкцию и размеры шариковых направляющих с неподвижным сепаратором для штампов листовой штамповки |
| Список изменений: | №1 от 01.05.1983 (рег. 29.11.1982) «Срок действия продлен» №2 от 01.05.1984 (рег. 17.01.1984) «Срок действия продлен» №3 от 01.01.1987 (рег. 02.07.1986) «Срок действия продлен» |
|