| Обозначение: |  ГОСТ 20162-74 |
| Статус: | действующий |
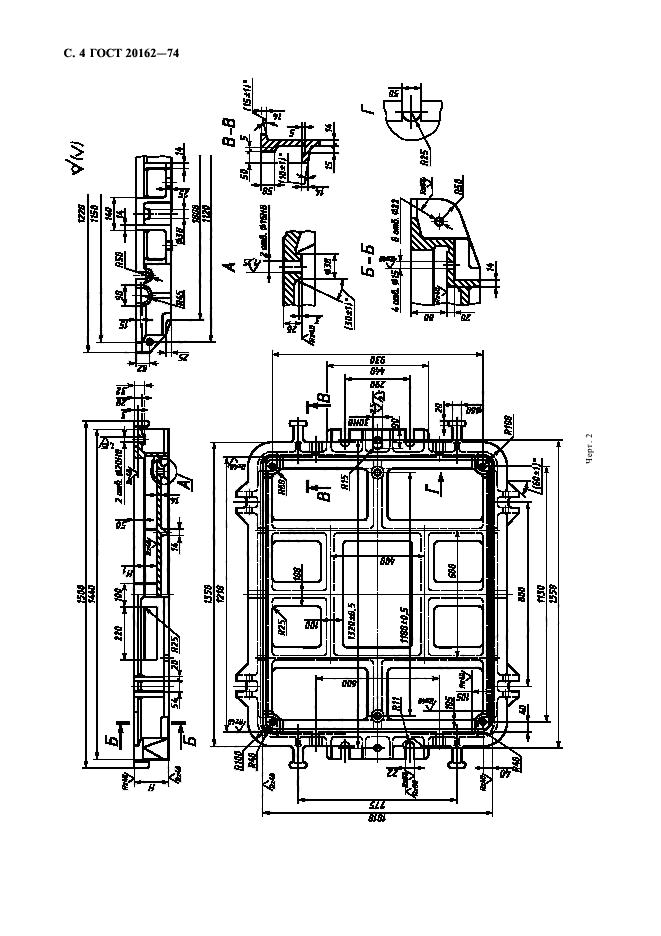
| Название рус.: | Плиты модельные со сменными деревянными вкладышами для опоки размерами в свету 1200х1000 мм на формовочные литейные машины с поворотом полуформы без допрессовки. Конструкция и размеры |
| Название англ.: | Pattern plates with changeable wooden inserts for moulding box having inside dimensions 1200x1000 mm for moulding foundry machines with turn of half mould without squeezing. Design and dimensions |
| Дата актуализации текста: | 06.04.2015 |
| Дата актуализации описания: | 01.07.2023 |
| Дата издания: | 01.09.2000 |
| Дата введения: | 01.07.1975 |
| Нормативные ссылки: | ГОСТ 977-88; ГОСТ 5927-70; ГОСТ 6902-75; ГОСТ 7808-70; ГОСТ 19391-74; ГОСТ 20122-74; ГОСТ 20123-74; ГОСТ 20128-74; ГОСТ 20131-80; ГОСТ 20169-74; ГОСТ 20172-74 |
| Область применения: | Настоящий стандарт устанавливает конструкцию и размеры модельных плит |
| Список изменений: | №1 от 01.05.1982 (рег. 09.02.1982) «Срок действия продлен» №2 от 01.06.1988 (рег. 17.12.1987) «Срок действия продлен» |
|