| Обозначение: |  ГОСТ 19933-74 |
| Статус: | действующий |
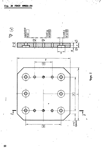
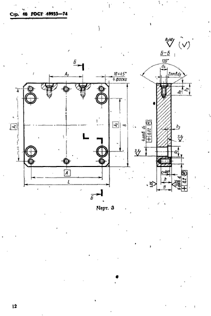
| Название рус.: | Блоки универсальные пресс-форм литья под давлением. Конструкция и размеры |
| Название англ.: | General-duty units of dies for die casting. Design and dimensions |
| Дата актуализации текста: | 06.04.2015 |
| Дата актуализации описания: | 01.07.2023 |
| Дата издания: | 01.07.1982 |
| Дата введения: | 01.07.1975 |
| Код ОКП: | 396190;396397 |
| Взамен: | МН 1555-61 |
| Нормативные ссылки: | ГОСТ 3128-70; ГОСТ 4751-73; ГОСТ 6402-70; ГОСТ 7798-70; ГОСТ 11738-72; ГОСТ 16093-81; ГОСТ 17385-72; ГОСТ 17386-72; ГОСТ 17387-72; ГОСТ 17388-72; ГОСТ 17389-72; ГОСТ 17588-81; ГОСТ 19942-74; ГОСТ 19945-74; ГОСТ 19946-74 |
| Область применения: | Настоящий стандарт распространяется на универсальные блоки, применяемые при литье под давлением деталей из цветных сплавов на машинах с горизонтальной камерой прессования |
| Список изменений: | №1 от 01.01.1981 (рег. 08.07.1980) «Срок действия продлен» №2 от 01.01.1990 (рег. 27.03.1989) «Срок действия продлен» |
|