| Обозначение: |  ГОСТ 20534-75 |
| Статус: | действующий |
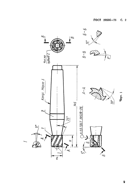
| Название рус.: | Фрезы концевые с коническим хвостовиком, оснащенные твердосплавными коронками. Конструкция и размеры |
| Название англ.: | Taper shank end mills with solid carbide tips. Construction and dimensions |
| Дата актуализации текста: | 01.01.2026 |
| Дата актуализации описания: | 01.07.2023 |
| Дата издания: | 01.01.1995 |
| Дата введения: | 01.01.1977 |
| Код ОКП: | 391853 |
| Взамен: | МН 4169-62 |
| Взамен в части: | ГОСТ 8720-69 в части типа 1 |
| Нормативные ссылки: | ГОСТ 20533-75; ГОСТ 20539-75; ГОСТ 20771-82 |
| Область применения: | Настоящий стандарт распространяется на концевые фрезы, оснащенные твердосплавными коронками, диаметром от 10 до 22 мм, предназначенные для обработки легированной и углеродистой стали, чугуна и бронзы |
| Список изменений: | №1 от 01.03.1980 (рег. 28.01.1980) «Срок действия продлен» №2 от 01.05.1987 (рег. 20.12.1986) «Срок действия продлен» |
| Приложение №1: | Поправка к ГОСТ 20534-75 |
|