| Обозначение: |  ГОСТ 20925-75 |
| Статус: | действующий |
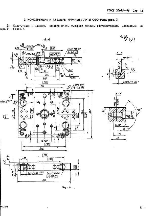
| Название рус.: | Блоки сменных пресс-форм с нижней загрузочной камерой для прессования изделий из реактопластов. Конструкция и размеры |
| Название англ.: | Units of changeable press-moulds with lowpositioned loading chamber for moulding thermoset articles. Construction and dimensions |
| Дата актуализации текста: | 06.04.2015 |
| Дата актуализации описания: | 01.07.2023 |
| Дата издания: | 24.10.1975 |
| Дата введения: | 01.07.1976 |
| Код ОКП: | 686742 |
| Взамен: | МН 1515-61 |
| Нормативные ссылки: | ГОСТ 380-71; ГОСТ 1050-74; ГОСТ 1435-74; ГОСТ 1491-80; ГОСТ 2685-75; ГОСТ 3128-70; ГОСТ 4248-78; ГОСТ 4543-71; ГОСТ 4784-74; ГОСТ 5264-80; ГОСТ 5916-70; ГОСТ 10356-63; ГОСТ 11075-75; ГОСТ 11371-78; ГОСТ 11738-72; ГОСТ 13268-83; ГОСТ 13440-68; ГОСТ 14034-74; ГОСТ 15523-70; ГОСТ 17385-72; ГОСТ 17387-72; ГОСТ 17389-72; ГОСТ 17475-80; ГОСТ 17662-72; ГОСТ 18780-80; ГОСТ 18793-80; ГОСТ 18816-80; ГОСТ 20934-75; ГОСТ 24643-81 |
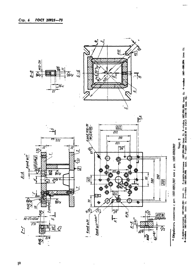
| Область применения: | Настоящий стандарт распространяется на блоки сменных пресс-форм с нижней загрузочной камерой для литьевого прессования изделий из реактопластов |
| Список изменений: | №1 от 01.07.1981 (рег. 05.04.1981) «Срок действия продлен» №2 от 31.05.1985 (рег. 18.12.1984) «Срок действия продлен» |
|