| Обозначение: |  ГОСТ 4045-75 |
| Статус: | действующий |
| Название рус.: | Тиски слесарные с ручным приводом. Технические условия |
| Название англ.: | Vise with hand driwes. Specifications |
| Дата актуализации текста: | 06.04.2015 |
| Дата актуализации описания: | 01.07.2023 |
| Дата издания: | 01.09.2001 |
| Дата введения: | 01.01.1977 |
| Код ОКП: | 392871 |
| Взамен в части: | ГОСТ 4045-57 в части слесарных тисков |
| Нормативные ссылки: | CT CЭB 1279-78;CT CЭB 1280-78 |
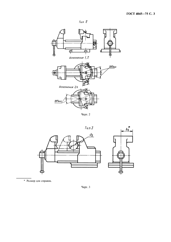
| Область применения: | Настоящий стандарт распространяется на слесарные тиски с ручным приводом с шириной губок от 63 до 200 мм, изготовляемые для нужд народного хозяйства и для экспорта. Стандарт не распространяется на слесарные тиски быстросъемные с устройством для крепления типа струбцины, эксцентрика, пневмоприсоса и т. п. |
| Список изменений: | №1 от 01.01.1981 (рег. 21.11.1980) «Срок действия продлен» №2 от 01.12.1985 (рег. 25.06.1985) «Срок действия продлен» №3 от 01.02.1991 (рег. 04.09.1990) «Срок действия продлен» |
|