| Обозначение: |  ГОСТ 20485-75 |
| Статус: | действующий |
| Название рус.: | Пайка. Метод определения затекания припоя в зазор |
| Название англ.: | Soldering and brazing. Method for determining the filling of the clearance by the solder |
| Дата актуализации текста: | 06.04.2015 |
| Дата актуализации описания: | 01.01.2021 |
| Дата издания: | 01.09.2000 |
| Дата введения: | 01.01.1976 |
| Содержит требования: | СТ СЭВ 5686-86 |
| Нормативные ссылки: | ISO 5179:1983; ГОСТ 7164-78 |
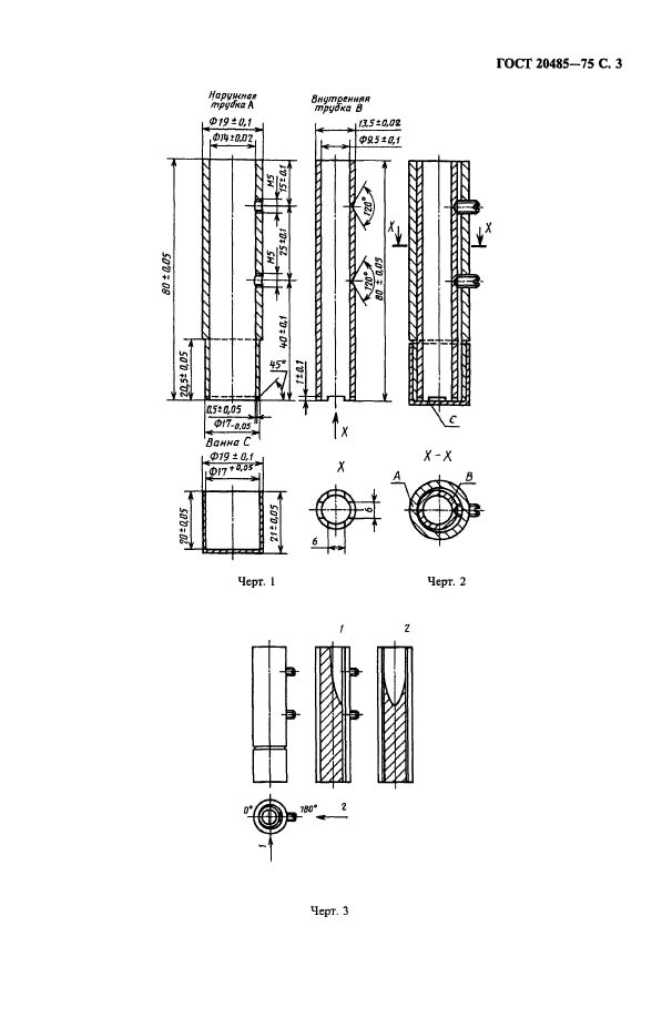
| Область применения: | Настоящий стандарт устанавливает метод определения затекания припоя в горизонтальный зазор по коэффициенту затекания и коэффициенту пористости и метод определения затекания припоя в вертикальный зазор переменной величины по высоте подъема |
| Список изменений: | №1 от 01.07.1981 (рег. 26.02.1981) «Срок действия продлен» №2 от 01.07.1988 (рег. 29.10.1987) «Поправка» |
|