| Обозначение: |  ГОСТ 20538-75 |
| Статус: | действующий |
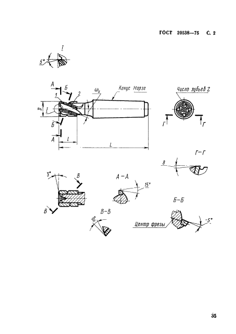
| Название рус.: | Фрезы концевые удлиненные диаметром от 20 до 50 мм с коническим хвостовиком, оснащенные винтовыми твердосплавными пластинами. Конструкцияи размеры |
| Название англ.: | Elongated taper shank end mills of 20-50 mm diameter with spiral carbide blades. Construction and dimensions |
| Дата актуализации текста: | 06.04.2015 |
| Дата актуализации описания: | 01.07.2023 |
| Дата издания: | 01.01.1995 |
| Дата введения: | 01.01.1977 |
| Код ОКП: | 391853 |
| Взамен: | МН 4166-62 |
| Взамен в части: | ГОСТ 8720-69 в части типа 2 исполнения 2 |
| Нормативные ссылки: | ГОСТ 20536-75; ГОСТ 20539-75; ГОСТ 25414-82 |
| Область применения: | Настоящий стандарт распространяется на концевые фрезы, оснащенные винтовыми твердосплавными пластинами, предназначенные для обработки стали, чугуна и бронзы, а также труднообрабатываемых сталей и сплавов |
| Список изменений: | №1 от 01.03.1980 (рег. 28.01.1980) «Срок действия продлен» №2 от 01.05.1987 (рег. 20.12.1986) «Срок действия продлен» |
|