| Обозначение: |  ГОСТ 21938-76 |
| Статус: | действующий |
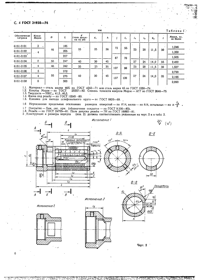
| Название рус.: | Патроны для нарезания резьбы на токарных станках. Конструкция и размеры |
| Название англ.: | Chucks for thread cutting on lathes. Design and dimensions |
| Дата актуализации текста: | 06.04.2015 |
| Дата актуализации описания: | 01.07.2023 |
| Дата издания: | 01.02.1987 |
| Дата введения: | 01.01.1978 |
| Код ОКП: | 392810 |
| Взамен: | МН 2513-61 |
| Взамен в части: | МН 2508-61 в части колец с D > 30 мм |
| Нормативные ссылки: | ГОСТ 1476-84; ГОСТ 5927-70; ГОСТ 11371-78; ГОСТ 21939-76; ГОСТ 21940-76; ГОСТ 24643-81 |
| Область применения: | Настоящий стандарт распространяется на патроны для круглых плашек для нарезания резьбы от М3 до М42 на токарных станках |
| Список изменений: | №1 от 30.04.1983 (рег. 06.12.1982) «Срок действия продлен» |
|