| Обозначение: |  ГОСТ 22163-76 |
| Статус: | действующий |
| Название рус.: | Рис. Метод определения плотности |
| Название англ.: | Rice. Method of determination of density |
| Дата актуализации текста: | 06.04.2015 |
| Дата актуализации описания: | 01.07.2023 |
| Дата издания: | 01.01.1980 |
| Дата введения: | 01.07.1977 |
| Код ОКП: | 971531 |
| Нормативные ссылки: | ГОСТ 3040-55; ГОСТ 5789-78; ГОСТ 9949-76; ГОСТ 10839-64; ГОСТ 10939-64 |
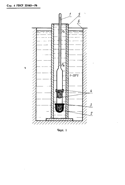
| Область применения: | Настоящий стандарт распространяется на зерно риса и устанавливает метод определения его плотности |
| Список изменений: | №0 от 30.03.1987 (рег. 29.03.1987) «Срок действия продлен» |
|