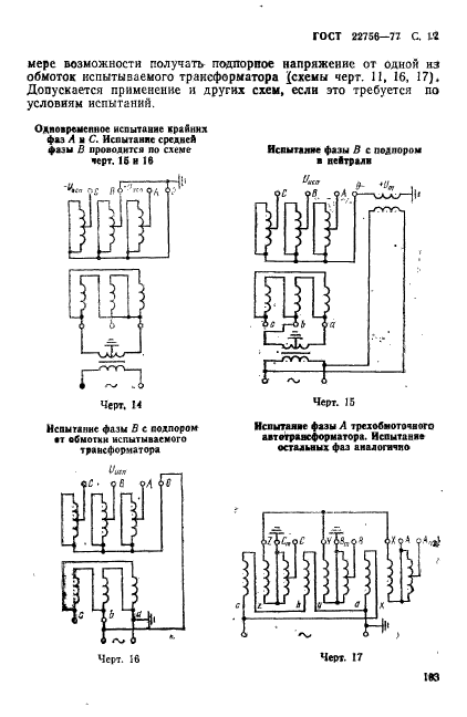
Скачать ГОСТ 22756-77 Трансформаторы (силовые и напряжения) и реакторы. Методы испытаний электрической прочности изоляцииДата актуализации: 01.06.2025 ГОСТ 22756-77
Трансформаторы (силовые и напряжения) и реакторы. Методы испытаний электрической прочности изоляции
| Обозначение: |  ГОСТ 22756-77 |
| Статус: | действующий |
| Название рус.: | Трансформаторы (силовые и напряжения) и реакторы. Методы испытаний электрической прочности изоляции | | Название англ.: | Power and voltage transformers and reactors. Test methods of electric insulation strength | | Дата актуализации текста: | 06.04.2015 | | Дата актуализации описания: | 01.07.2023 | | Дата издания: | 01.11.1988 | | Дата введения: | 01.01.1979 | | Код ОКП: | 341100 | | Содержит требования: | IEC 60722(1986);СТ СЭВ 3150-81;СТ СЭВ 4446-83;СТ СЭВ 5018-85 | | Нормативные ссылки: | IEC 60060-2(1973); ГОСТ 1516.1-76; ГОСТ 1516.2-76; ГОСТ 15150-69; ГОСТ 17512-72; ГОСТ 20620-75; ГОСТ 20690-75; ГОСТ 21023-75 | | Область применения: | Настоящий стандарт распространяется на силовые трансформаторы, электромагнитные трансформаторы напряжения, линейные регулировочные трансформаторы, токоограничивающие, шунтирующие, токоограничивающие заземляющие и дугогасящие реакторы климатических исполнений У, ХЛ и Т, категорий размещения 1, 2, 3 и 4 по ГОСТ 15150-69, предназначенные для работы в установках трехфазного переменного тока частоты 50 Гц классов напряжения от 3 кВ и выше. Стандарт не распространяется на емкостные трансформаторы напряжения, элегазовые трансформаторы, трансформаторы и реакторы, работающие в испытательных, медицинских, рентгеновских, радиотехнических, взрывоопасных, автономных подвижных и других специальных установках, вентильные обмотки преобразовательных трансформаторов и реакторы для них, детали трансформаторов | | Список изменений: | №1 от 01.01.1983 (рег. 24.03.1982) «Срок действия продлен» №2 от 01.01.1986 (рег. 31.10.1984) «Срок действия продлен» №3 от 01.01.1987 (рег. 26.03.1986) «Срок действия продлен» №4 от 01.07.1990 (рег. 23.10.1989) «Срок действия продлен» | |
                                            
|