| Обозначение: |  ГОСТ 22957-78 |
| Статус: | действующий |
| Название рус.: | Профили стенок литейных цельнолитых стальных и чугунных опок. Конструкция и размеры |
| Название англ.: | Wall profiles of all-cast steel and iron moulding boxes. Construction and dimensions |
| Дата актуализации текста: | 06.04.2015 |
| Дата актуализации описания: | 01.07.2023 |
| Дата издания: | 23.05.1978 |
| Дата введения: | 01.01.1979 |
| Код ОКП: | 396190 |
| Взамен: | МН 139-59;МН 141-59;МН 142-59 |
| Нормативные ссылки: | ГОСТ 8909-75 |
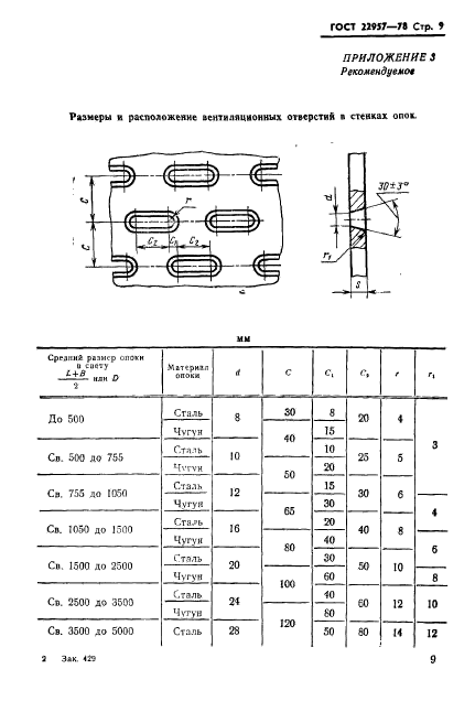
| Область применения: | Настоящий стандарт распространяется на литейные цельнолитые стальные и чугунные опоки, предназначенные для изготовления песчаных литейных форм машинной, ручной и пескометной формовкой. Стандарт не распространяется на опоки, применяемые при формовке различными методами силового уплотнения смеси под давление свыше 5х10 в ст. 5 Па, а также на опоки для автоматических и комплексно-механизированных линий в части конструктивных элементов, непосредственно соприкасающихся с элементами линий |
| Список изменений: | №1 от 01.12.1983 (рег. 10.07.1983) «Срок действия продлен» |
|