| Обозначение: |  ГОСТ 16984-79 |
| Статус: | действующий |
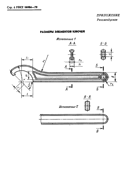
| Название рус.: | Ключи для круглых шлицевых гаек. Конструкция и размеры |
| Название англ.: | Hook wrenchen for round slotted nuts. Design and dimensions |
| Дата актуализации текста: | 06.04.2015 |
| Дата актуализации описания: | 01.07.2023 |
| Дата издания: | 01.11.1985 |
| Дата введения: | 01.07.1980 |
| Код ОКП: | 392652 |
| Взамен: | ГОСТ 16984-71 |
| Нормативные ссылки: | ГОСТ 11871-80; ГОСТ 2838-80; ГОСТ 4543-71; ГОСТ 1050-74; ГОСТ 7505-74 |
| Область применения: | Настоящий стандарт распространяется на ключи для круглых шлицевых гаек с наружными диаметрами от 12 до 250 мм, изготовляемые для нужд народного хозяйства и экспорта |
| Список изменений: | №1 от 30.04.1985 (рег. 17.12.1984) «Срок действия продлен» |
|