| Обозначение: |  ГОСТ 23865-79 |
| Статус: | действующий |
| Название рус.: | Вводы конденсаторные герметичные на номинальные напряжения от 110 кВ и выше. Типы и размеры |
| Название англ.: | Condenser sealed bushings for nominal voltages 110 and higher. Types and sizes |
| Дата актуализации текста: | 06.04.2015 |
| Дата актуализации описания: | 01.07.2023 |
| Дата издания: | 01.06.1983 |
| Дата введения: | 01.01.1982 |
| Код ОКП: | 349310 |
| Нормативные ссылки: | ГОСТ 9920-75; ГОСТ 10693-81 |
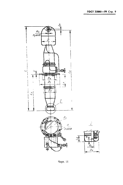
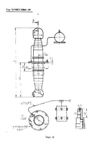
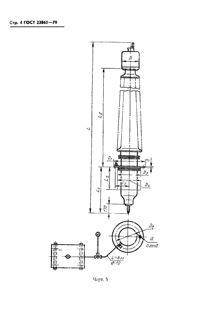
| Область применения: | Настоящий стандарт распространяется на конденсаторные вводы герметичного исполнения с бумажно-масляной изоляцией на номинальные напряжения 110 кВ и выше промышленной частоты от 15 до 60 Гц, предназначенные для трансформаторов (автотрансформаторов), реакторов, масляных выключателей, и линейные вводы, а также вводы для кабельного подключения трансформаторов и вводы с твердой изоляцией |
| Список изменений: | №1 от 31.08.1983 (рег. 12.04.1983) «Срок действия продлен» №2 от 01.01.1987 (рег. 26.06.1986) «Срок действия продлен» №3 от 01.01.1988 (рег. 26.10.1987) «Срок действия продлен» |
|