| Обозначение: |  ГОСТ 23585-79 |
| Статус: | действующий |
| Название рус.: | Монтаж электрический радиоэлектронной аппаратуры и приборов. Технические требования к разделке и соединению экранов проводов |
| Название англ.: | Mounting of electric and radioelectronic equipment and instruments. Technical requirements for wire screens termination and connection |
| Дата актуализации текста: | 06.04.2015 |
| Дата актуализации описания: | 01.07.2023 |
| Дата издания: | 01.02.1998 |
| Дата введения: | 01.07.1980 |
| Код ОКП: | 633000 |
| Нормативные ссылки: | ГОСТ 14312-79; ГОСТ 15845-80; ГОСТ 23587-79;ТУ 16.К71-087-90 |
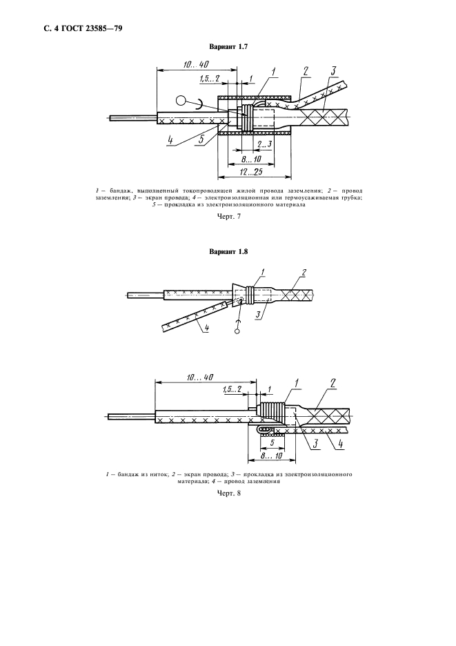
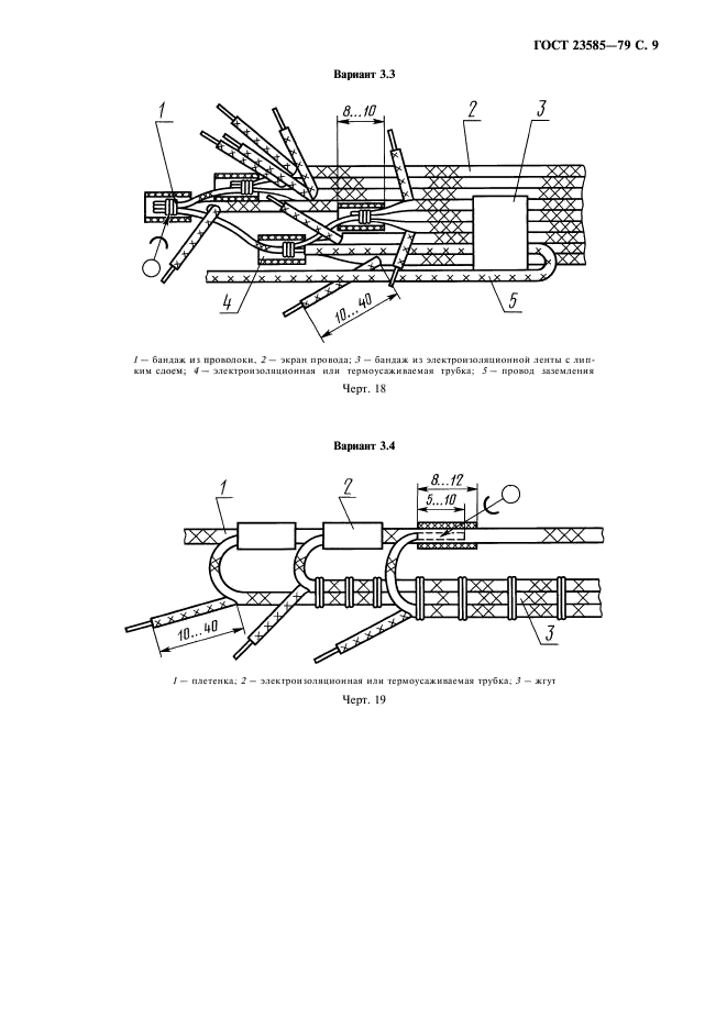
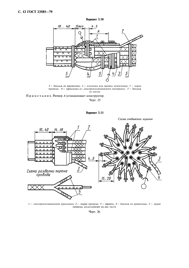
| Область применения: | Настоящий стандарт устанавливает технические требования к конструкциям разделки и соединения пайкой экранов проводов, применяемых при электрическом монтаже, выполняемом внутри радиоэлектронной аппаратуры, приборов и устройств и отвечающим общим техническим требованиям нормативной документации. Стандарт не распространяется на конструкции разделки и соединения экранов радиочастотных кабелей и ленточных проводов и технические требования к технологическому процессу выполнения разделки и соединения экранов проводов |
| Список изменений: | №0 от 26.07.1991 (рег. 25.07.1991) «Дата введения перенесена» №1 от 01.02.1985 (рег. 31.08.1984) «Срок действия продлен» |
|