| Обозначение: |  ГОСТ 23863-79 |
| Статус: | действующий |
| Название рус.: | Продукты лесохимические. Методы определения температуры размягчения |
| Название англ.: | Wood chemical products. Methods for determination of the softening temperature |
| Дата актуализации текста: | 06.04.2015 |
| Дата актуализации описания: | 01.07.2023 |
| Дата издания: | 01.02.1997 |
| Дата введения: | 01.01.1981 |
| Код ОКП: | 245000 |
| Нормативные ссылки: | ISO 4625:1980; ГОСТ 400-80; ГОСТ 6034-74; ГОСТ 6259-75; ГОСТ 6709-72; ГОСТ 6823-77; ГОСТ 6824-76; ГОСТ 25336-82 |
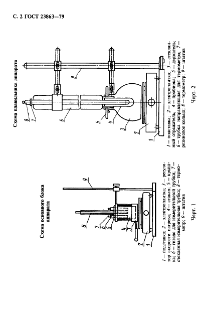
| Область применения: | Настоящий стандарт распространяется на лесохимические продукты и устанавливает методы определения температуры размягчения канифоли и ее производных: метод А - определение на аппарате типа ИКАР с помощью трубки и стержня; метод Б - определение по кольцу и шару. Методы основаны на определении температуры, при которой происходит выдавливание продукта под действием груза определенной массы вследствие его нагрева и размягчения |
| Список изменений: | №1 от 01.10.1985 (рег. 09.04.1987) «Срок действия продлен» №2 от 01.10.1992 (рег. 29.03.1992) «Поправка» |
|