| Обозначение: |  ГОСТ 8790-79 |
| Статус: | действующий |
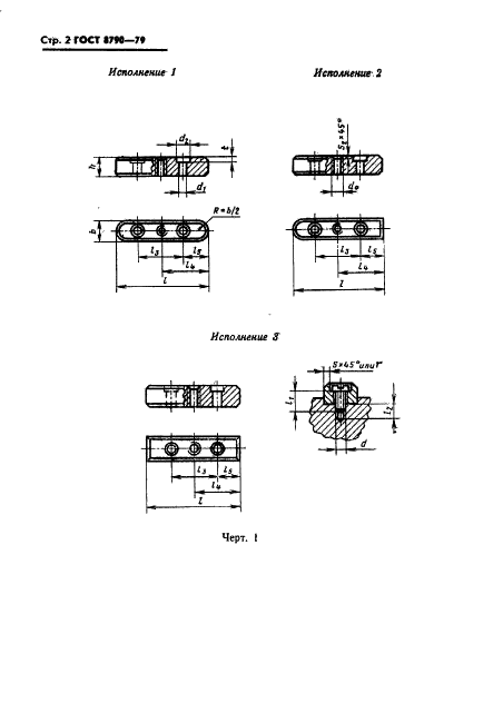
| Название рус.: | Основные нормы взаимозаменяемости. Соединения шпоночные с призматическими направляющими шпонками с креплением на валу. Размеры шпонок и сечений пазов. Допуски и посадки |
| Название англ.: | Rectangular parallel keys with screwing on the shafts. Dimensions |
| Дата актуализации текста: | 06.04.2015 |
| Дата актуализации описания: | 01.01.2021 |
| Дата издания: | 01.08.1984 |
| Дата введения: | 01.01.1981 |
| Взамен: | ГОСТ 8790-68 |
| Содержит требования: | СТ СЭВ 5612-86 |
| Нормативные ссылки: | СТ СЭВ 189-79 |
| Область применения: | Настоящий стандарт распространяется на шпоночные соединения с призматическими направляющими шпонками и креплением на валу и устанавливает размеры и предельные отклонения призматических направляющих шпонок и соответствующих им шпоночных пазов на валах и во втулках |
| Список изменений: | №1 от 01.01.1985 (рег. 26.03.1984) «Срок действия продлен» №2 от 01.01.1988 (рег. 18.12.1986) «Срок действия продлен» |
|