| Обозначение: |  ГОСТ 9731-79 |
| Статус: | действующий |
| Название рус.: | Баллоны стальные бесшовные большого объема для газов Рр<= 24,5 МПа (250 кгс/кв.см). Технические условия |
| Название англ.: | Steel seamless cylinders of large capacity for gases for Pw <= 24,5 MPa (250 kgf/cm2). Specifications |
| Дата актуализации текста: | 06.04.2015 |
| Дата актуализации описания: | 01.07.2023 |
| Дата издания: | 01.05.1994 |
| Дата введения: | 01.01.1981 |
| Код ОКП: | 117000 |
| Взамен: | ГОСТ 9731-61 |
| Нормативные ссылки: | ГОСТ 9.032-74; ГОСТ 9.402-80; ГОСТ 1050-88; ГОСТ 1497-84; ГОСТ 2016-86; ГОСТ 5791-81; ГОСТ 7931-76; ГОСТ 9012-59; ГОСТ 9150-81; ГОСТ 9399-81; ГОСТ 9454-78; ГОСТ 14192-77; ГОСТ 15150-69; ГОСТ 16093-81; ГОСТ 24705-81 |
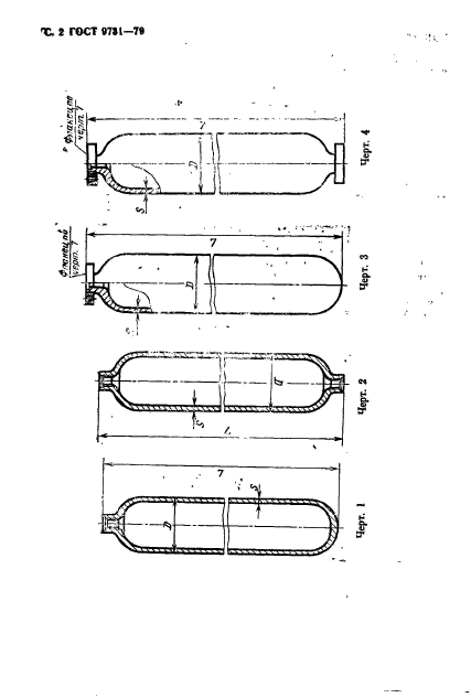
| Область применения: | Настоящий стандарт распространяется на баллоны из углеродистой и легированной стали, изготовленные из бесшовных труб и предназначенные для хранения и транспортирования сжатых и сжиженных газов при температуре окружающей среды от минус 50 до плюс 60 град. С |
| Список изменений: | №0 от 17.04.2002 (рег. 17.04.2002) «Дата введения перенесена» №1 от 01.07.1986 (рег. 27.12.1985) «Поправка» №2 от 01.01.1991 (рег. 21.06.1990) «Срок действия продлен» |
| Приложение №1: | Поправка к ГОСТ 9731-79 |
|