| Обозначение: |  ГОСТ 21167-75 |
| Статус: | действующий |
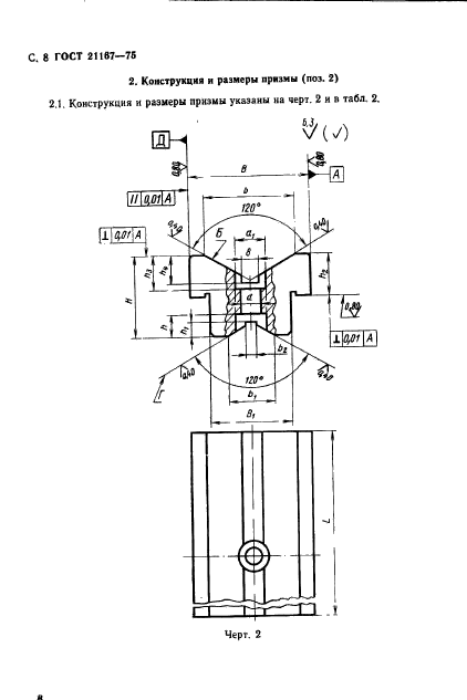
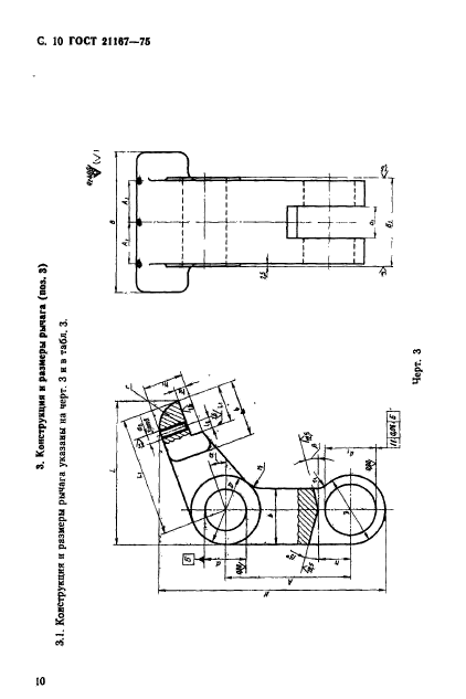
| Название рус.: | Тиски станочные винтовые самоцентрирующие рычажные для круглых профилей. Конструкция и основные размеры |
| Название англ.: | Machine bar centering vices with screw and lever. Design and main dimensions |
| Дата актуализации текста: | 06.04.2015 |
| Дата актуализации описания: | 01.07.2023 |
| Дата издания: | 01.06.1989 |
| Дата введения: | 01.01.1977 |
| Код ОКП: | 396130 |
| Взамен: | МН 5790-65 |
| Нормативные ссылки: | ГОСТ 9.032-74; ГОСТ 9.306-85; ГОСТ 977-75; ГОСТ 1050-74; ГОСТ 2009-55; ГОСТ 2789-73; ГОСТ 3212-80; ГОСТ 4543-71; ГОСТ 8820-69; ГОСТ 10549-81; ГОСТ 16093-81; ГОСТ 24643-81; ГОСТ 24705-81; ГОСТ 25347-82 |
| Область применения: | Настоящий стандарт распространяется на винтовые самоцентрирующие рычажные тиски класса точности Н, предназначенные для обработки деталей круглого профиля по 12-14 квалитетам по ГОСТ 25347-82 при выполнении станочных работ |
| Список изменений: | №1 от 30.06.1982 (рег. 30.10.1981) «Срок действия продлен» №2 от 01.01.1988 (рег. 10.03.1987) «Срок действия продлен» |
|