| Обозначение: |  ГОСТ 17040-80 |
| Статус: | действующий |
| Название рус.: | Элементы штампуемых деталей. Конструкция и размеры |
| Название англ.: | Stamping part elements. Construction and dimensions |
| Дата актуализации текста: | 06.04.2015 |
| Дата актуализации описания: | 01.07.2023 |
| Дата издания: | 01.07.1990 |
| Дата введения: | 01.07.1981 |
| Код ОКП: | 412240 |
| Взамен: | ГОСТ 17040-71 |
| Нормативные ссылки: | ГОСТ 859-78; ГОСТ 2789-73; ГОСТ 4784-74; ГОСТ 11069-74; ГОСТ 14957-76; ГОСТ 15527-70; ГОСТ 18175-78; ГОСТ 19807-74 |
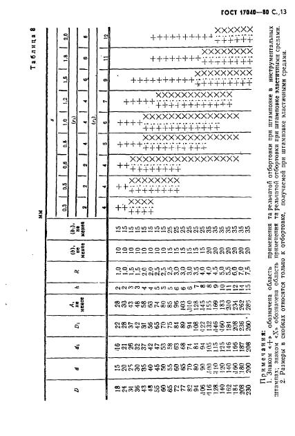
| Область применения: | Настоящий стандарт распространяется на типовые элементы (сгиб, отбортовка, выдавка, борт) для придания жесткости штампуемым деталям из листа цветных сплавов толщиной s не более 4 мм с допускаемым утонением материала при штамповке не более 20 % |
| Список изменений: | №1 от 01.11.1983 (рег. 03.05.1983) «Срок действия продлен» №2 от 01.01.1989 (рег. 27.03.1988) «Срок действия продлен» |
|