| Обозначение: |  ГОСТ 24328-80 |
| Статус: | действующий |
| Название рус.: | Шнеки буровые и долота лопастные к ним. Типы и основные размеры |
| Название англ.: | Screw drills and vane bits for them. Types and main dimensions |
| Дата актуализации текста: | 06.04.2015 |
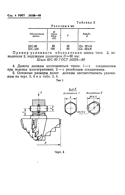
| Дата актуализации описания: | 01.01.2021 |
| Дата издания: | 17.10.1980 |
| Дата введения: | 01.01.1982 |
| Код ОКП: | 314750 |
| Область применения: | Настоящий стандарт распространяется на шнеки и лопастные долота для бурения скважин на воду |
|