| Обозначение: |  ГОСТ 24511-80 |
| Статус: | действующий |
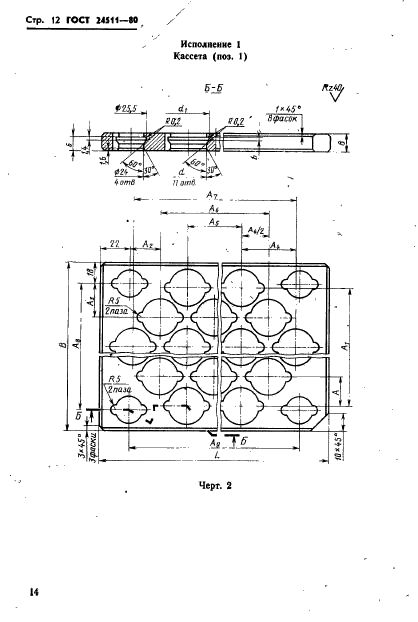
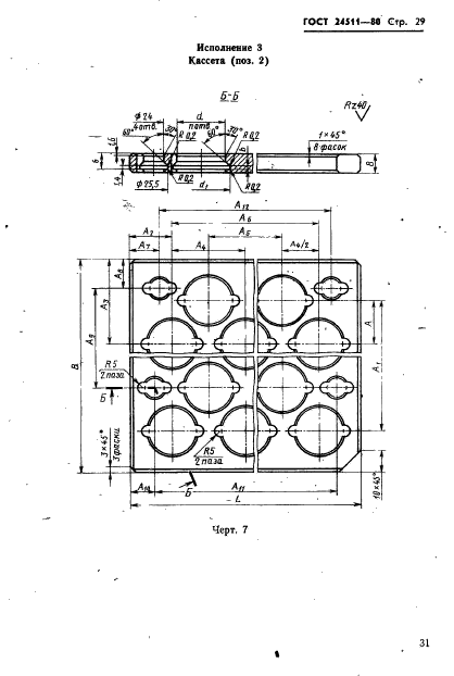
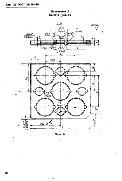
| Название рус.: | Блоки кассетных съемных пресс-форм для изготовления резинотехнических изделий. Конструкция и размеры |
| Название англ.: | Block of casette removable press-moulds for rubber-technical articles. Construction and dimensions |
| Дата актуализации текста: | 06.04.2015 |
| Дата актуализации описания: | 01.07.2023 |
| Дата издания: | 01.01.1982 |
| Дата введения: | 01.01.1983 |
| Код ОКП: | 396381 |
| Нормативные ссылки: | ГОСТ 26.020-80; ГОСТ 13941-86; ГОСТ 14901-79; ГОСТ 24511-80; ГОСТ 24514-80; ГОСТ 24517-80; ГОСТ 24518-80; ГОСТ 25670-83 |
| Область применения: | Настоящий стандарт распространяется на блоки кассетных универсальных съемных пресс-форм с креплением стопорными кольцами быстросменных пакетов наружным диаметром от 23 до 134 мм, предназначенные для изготовления резинотехнических изделий |
| Список изменений: | №1 от 01.01.1989 (рег. 23.06.1988) «Срок действия продлен» |
|