| Обозначение: |  ГОСТ 633-80 |
| Статус: | действующий |
| Название рус.: | Трубы насосно-компрессорные и муфты к ним. Технические условия |
| Название англ.: | Tubing pipes and couplings for them. Specifications |
| Дата актуализации текста: | 01.01.2024 |
| Дата актуализации описания: | 01.07.2023 |
| Дата издания: | 28.05.2010 |
| Дата введения: | 01.01.1983 |
| Код ОКП: | 132700 |
| Взамен: | ГОСТ 633-63 |
| Нормативные ссылки: | ГОСТ 2789-73; ГОСТ 7565-81; ГОСТ 10006-80; ГОСТ 8695-75; ГОСТ 10692-80; ГОСТ 16338-85; ГОСТ 17410-78 |
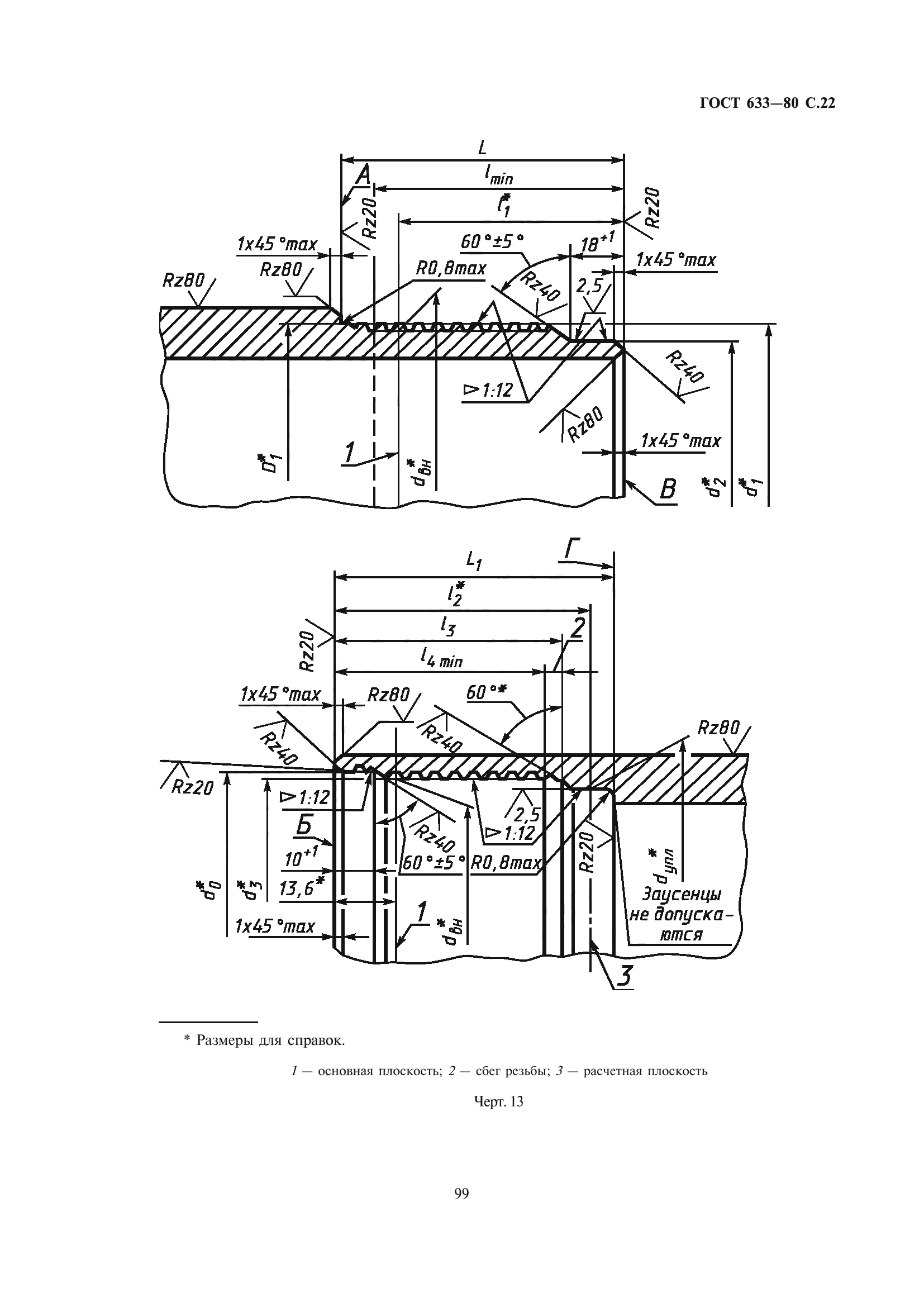
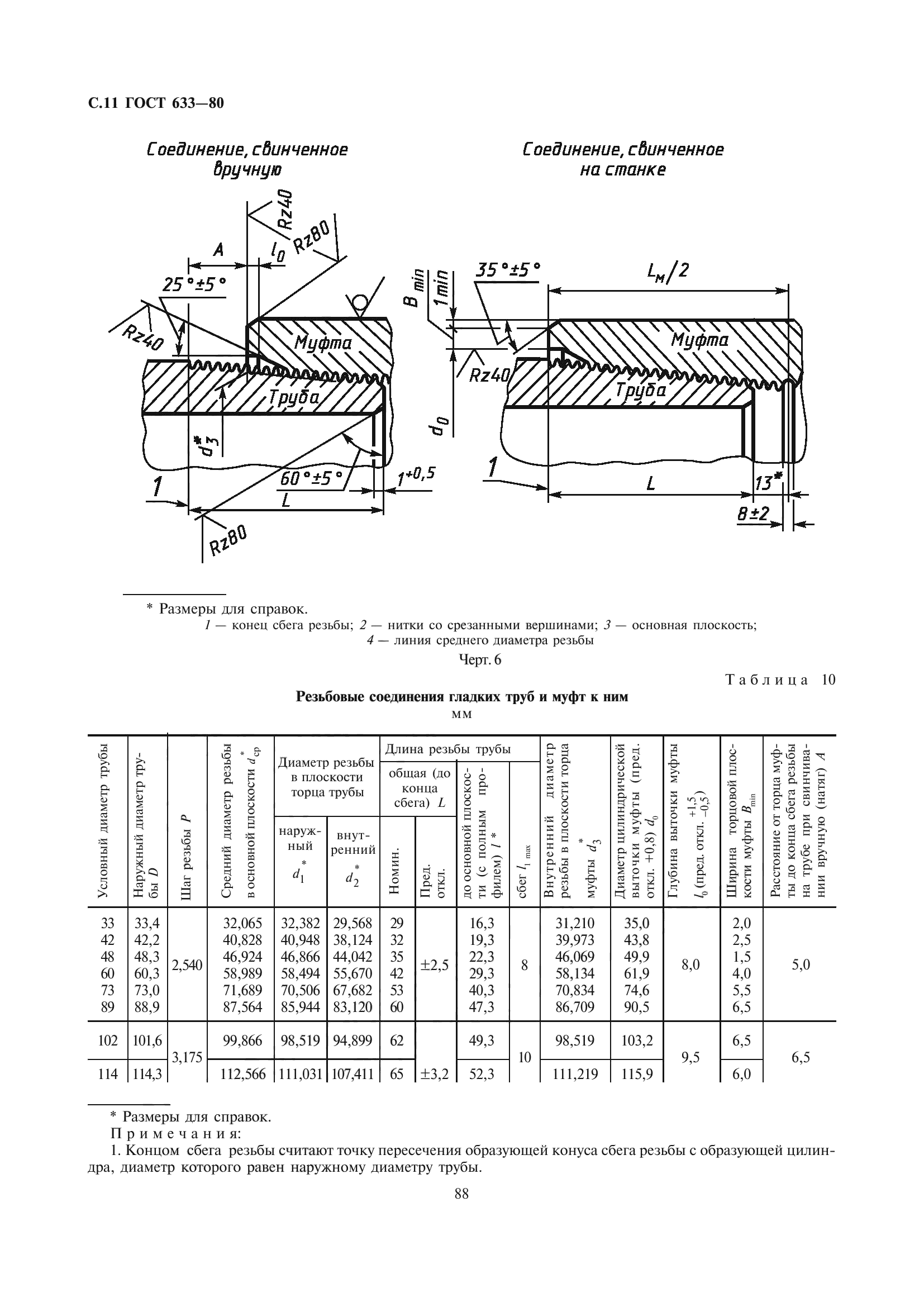
| Область применения: | Настоящий стандарт распространяется на стальные бесшовные насосно-компрессорные трубы гладкие и муфты к ним, с высаженными наружу концами и муфты к ним, гладкие высокогерметичные и муфты к ним, а также безмуфтовые трубы с высаженными наружу концами, применяемые для эксплуатации нефтяных и газовых скважин |
| Список изменений: | №1 от 01.01.1984 (рег. 02.08.1983) «Срок действия продлен» №2 от 01.08.1986 (рег. 24.01.1986) «Срок действия продлен» №3 от 01.06.1988 (рег. 22.12.1987) «Срок действия продлен» |
| Приложение №1: | Изменение №4 к ГОСТ 633-80 |
|