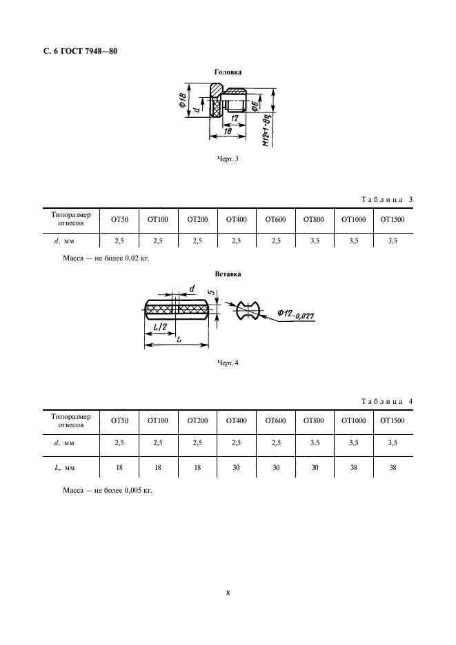
| Обозначение: |  ГОСТ 7948-80 |
| Статус: | не действует в РФ |
| Название рус.: | Отвесы стальные строительные. Технические условия |
| Название англ.: | Steel construction plumbs-lines. Specifications |
| Дата актуализации текста: | 06.04.2015 |
| Дата актуализации описания: | 01.01.2021 |
| Дата издания: | 01.06.1999 |
| Дата введения: | 01.01.1982 |
| Дата окончания срока действия: | 01.03.2020 |
| Код ОКП: | 483328 |
| Взамен: | ГОСТ 7948-71 |
| На территории РФ пользоваться: | ГОСТ Р 58513-2019 |
| Область применения: | Настоящий стандарт распространяется на стальные отвесы, применяемые при производстве строительно-монтажных работ |
|